Hệ thống Điều khiển Động cơ Điện tử của Động cơ 4A-FE

MỤC LỤC

Chức năng của hệ thống điều khiển động cơ

ECU sử dụng các tín hiệu này để xác định khoảng thời gian phun cần thiết nhằm đạt được tỷ lệ khí- nhiên liệu tối ưu phù hợp với điều kiện hoạt động hiện thời của động cơ. Nếu các tín hiệu vào ECU động cơ không bình thường, ECU động cơ sẽ chuyển sang dùng các giá trị tiêu chuẩn lưu ở bộ nhớ trong để điều khiển động cơ, điều này cho phép nó điều khiển được động cơ nên tiếp tục được hoạt động bình thường của xe.

Hình 2.6.  Sơ đồ hệ thống điều khiển động cơ.
Hình 2.6. Sơ đồ hệ thống điều khiển động cơ.

KẾT CẤU CỦA HỆ THỐNG ĐIỀU KHIỂN ĐỘNG CƠ

ECU động cơ còn điều khiển cả hệ thống điều khiển khí và các hệ thống phụ khác.

YÊU CẦU MÔ HÌNH

Hệ thống điều khiển điện tử

Cảm biến áp suất đường ống nạp so sánh áp suất đường ống nạp với độ chân không này và phát ra tín hiệu PIM nên tín hiệu này cũng không bị dao động theo sự thay đổi của áp suất khí quyển. Ta chọn loại vòi phun điện trở cao vì dùng vòi phun điện trở thấp để tránh quá nhiệt do dòng lớn qua kim thì ta phải dùng thêm một điện trở nối tiếp giữa công tắc máy và kim.

Đánh lửa điện tử (ESA)

Ta chọn loại đặt trong bình vì loại này tạo ra ít rung động và tiếng ồn hơn so với các loại trên đường ống.

Chẩn đoán

Khi tín hiệu của một mạch nào đó không bình thường so với giá trị cố định này, mạch đó coi như có hư hỏng.

ĐẶC ĐIỂM CÁC CỤM CHI TIẾT TRÊN MÔ HÌNH

Hệ thống nhiên liệu

Sau khi động cơ đã khởi động và khóa điện được trả về vị trí ON (cực IG ) từ vị trí STAR(cực ST) dòng điện chạy đến cuộn dây L3 của rơle mở mạch bị cắt. Mặc dù vậy, do sự thay đổi độ chân không trong đường ống nạp, lượng phun nhiên liệu sẽ thay đổi một chút thậm chí nếu tín hiệu phun và áp suất nhiên liệu không đổi.

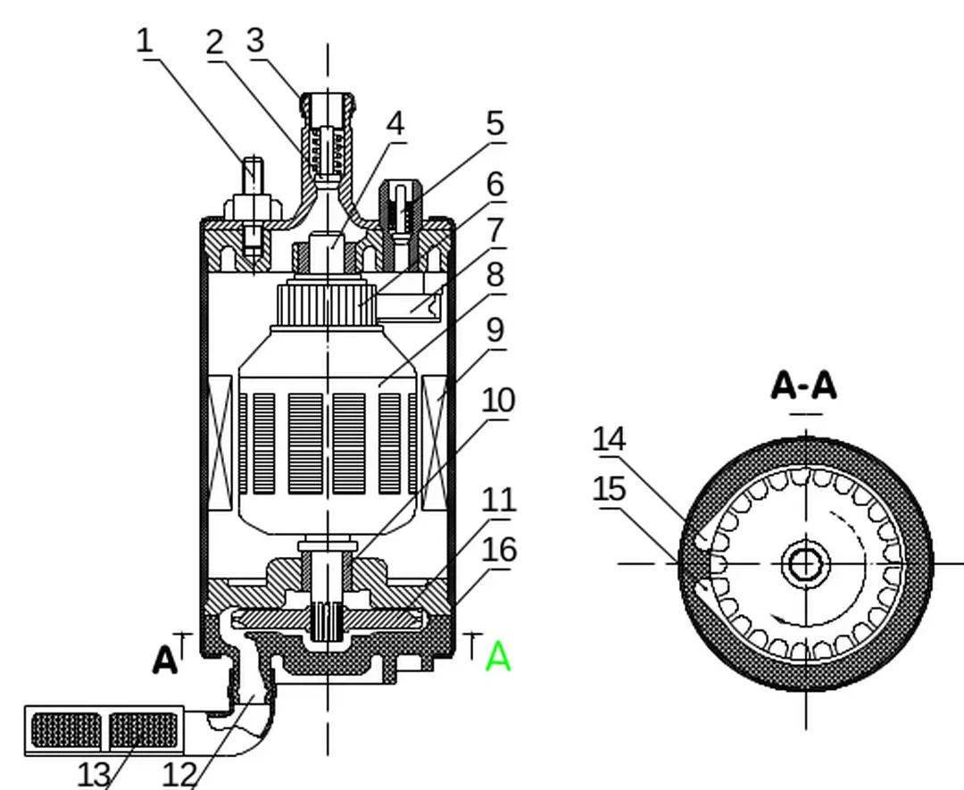
Hình 3.2. Cấu tạo bơm xăng loại  đặt trong thùng chứa.
Hình 3.2. Cấu tạo bơm xăng loại đặt trong thùng chứa.

Hệ thống điều khiển tự động

Chú ý rằng trong hệ thống EFI, nếu cảm biến nhiệt độ nước làm mát bị hở mạch thì ECU sẽ nhận tín hiệu nhiệt độ động cơ là rất thấp và sẽ điều khiển lượng nhiên liệu phun tăng gấp đôi khi nhiệt độ động cơ ở 800c. Để nhằm mục đích giúp cho động cơ có lắp đặt bộ TWC ( bộ lọc khí xả 3 thành phần) đạt được hiệu quả lọc khí xả tốt nhất cần phải duy trì tỷ lệ không khí – nhiên liệu nằm trong khoảng gần với tỷ lệ lý thuyết. Nếu nồng độ ôxy trên bề mặt trong của phần tử ZrO2 chênh lệch lớn so với trên bề mặt ngoài tại nhiệt độ cao(4000C), phần tử ZrO2 sẽ sinh ra một điện áp khi hỗn hợp không khí – nhiên liệu nhạt, có rất nhiều ôxy trong khí xả do vậy có sự chênh lệch nhỏ giửa nồng độ ôxy ở bên trong và bên ngoài của biến.

Số lượng răng của rôto và số cuộn nhận tín hiệu khác nhau tùy theo động cơ, dưới đây sẽ mô tả kết cấu và hoạt động của bộ tạo tín hiệu G và NE mà sử dụng một cuộn nhận tín hiệu và rôto 4 răng cho tín hiệu G và một cuộn nhận tín hiệu và rôto 24 răng cho tín hiệu NE.

Hình 3.10.  Cảm biến nhiệt độ nước.
Hình 3.10. Cảm biến nhiệt độ nước.

Chức năng của ECU

Điều khiển ghi nhớ tỷ lệ khí – nhiên liệu khi tình trạng của động cơ thay đổi theo thời gian, tỷ lệ khí – nhiên liệu tạo ra bởi khoảng thời gian phun cơ bản do ECU tính toán biến động so với tỷ lệ lý thuyết. Điều này có nghĩa là khoảng thời gian van trong vòi phun mở sẽ trở nên ngắn hơn so với tính toán của ECU và làm cho tỷ số không khí – nhiên liệu thực tế trở nên cao hơn ( nhạt hơn) so với yêu cầu của động cơ nếu không khắc phục bằng hiệu chỉnh điện áp. ECU động cơ gởi một tín hiệu từ IGT đến IC đánh lửa dựa trên tín hiệu từ các cảm biến sao cho đạt được từ thời điểm đánh lửa tối ưu tín hiệu IGT này phát ra chỉ ngay trước thời điểm đánh lửa được tính toán bởi bộ vi xử lý, sau đó tắt ngay.

Các tín hiệu khác nhau (dựa trên các tín hiệu từ các cảm biến có liên quan) được thêm vào góc thời điểm đánh lửa ban đầu và thêm vào góc đánh lửa sớm cơ bản (được xác định bởi tín hiệu áp suất đường ống nạp và tín hiệu tốc độ động cơ). Để ngăn chặn điều này ECU động cơ điều khiển góc đanh lửa thực tế ( thời điểm đánh lửa) sao cho tổng góc đánh lửa sớm cơ bản và góc đánh lửa sớm hiệu chỉnh không thể lớn hơn hay nhỏ hơn một giá trị xác định. Nó bao gồm thời điểm đánh lửa ban đầu cộng với góc đánh lửa sớm cố định ( một giá trị lưu trong ECU và phát ra trong quá trình điều chỉnh mà không kể đến các hiệu chỉnh được dùng trong hoạt động bình thường của xe).

Hình 3.26.  Sơ đồ bộ đếm.
Hình 3.26. Sơ đồ bộ đếm.

CÁC CỤM CHI TIẾT KHÁC

    Trong quá trình hoạt động, nếu có sự cố kỹ thuật nào xẩy ra thì ECU sẽ nhận biết và sẽ tự động ghi vào trong bộ nhớ của nó và bật sáng đèn kiểm tra (tín hiệu W) để báo cho người sử dụng là có hư hỏng. Khi ta xoay núm điều khiển từ phải sang bên tráicho đến hết tương ứng với giá trị điện trở của biến trở thay đổi trong khoảng từ 0KΩ ÷20KΩ và ngược lại khi ta xoay núm điều khiển từ bên trái sang phải thì giá trị của biến trở sẽ thay đổi trong khoảng từ 20KΩ đến 0Ω. Vì tốc độ của trục bộ chia điện bằng một nữa tốc độ động cơ nên ta sử dụng động cơ có số vòng quay tối đa và cơ cấu dẩn động phù hợp để tốc độ tối đa trên trục bộ chia điện khoảng 2500 vòng/phút.

    Vì trong quá trình sử dụng mô hình để tiến hành chẩn đoán và kiểm tra, các tín hiệu điều khiển đánh lửa và điều khiển phun xăng thay đổi rất nhỏ và trong thời gian rất nhanh, không thể quan sát hoặt nhận biết bằng mắt thường được.

    BỐ TRÍ CHUNG MÔ HÌNH

    Để tiện trong quá trình khảo sát và sử dụng mô hình khi cần nối hoặt ngắt các tín hiệu vào ECU, ta sử dụng các công tắc có đèn báo hiệu. Nó sử dụng cho mục đích chẩn đoán và kiểm tra các xung tín hiệu điều khiển đánh lửa, điều khiển vòi phun và các xung tín hiệu khác. Bình điện dùng để cấp nguồn cho các thiết bị điện tử hoạt động, nguồn 220V xoay chiều dùng để cung cấp cho động cơ kéo bộ chia điện.

    Đồng thời để đảm bảo cho không có xảy ra hỏa hoạn do sử dụng xăng, ta phải bố trí nến đánh lửa càng xa thùng nhiên liệu và vòi phun càng tốt.

    KHẢO SÁT ĐẶC TÍNH HỆ THỐNG CUNG CẤP NHIÊN LIỆU 1. MỤC ĐÍCH

    GIỚI THIỆU THIẾT BỊ

      Thùng nhiên liệu, bơm nhiên liệu, bộ lọc nhiên liệu, vòi phun, cốc đo, đồng hồ đo áp suất nhiên liệu, rơle bơm nhiên liệu…. Khi vòi phun làm việc, nhiên liệu qua đường cao áp đến dàn phân phối cung cấp đến các vòi phun, phun vào các cốc nhiên liệu. Tuỳ theo vị trí của khoá nhiên liệu cuối cốc, ta cho nhiên liệu trở về thùng nhiên liệu hay nhiên liệu được giử lại trong cốc.

      Tại thời điểm đó, dòng điện chạy từ cực ST của khoá điện đến cuộn dây của rơle mở mạch, bật rơle này làm cho bơm hoạt động.

      NỘI DUNG

        Điều này sẽ làm cho tỷ lệ hoà khí không còn thích hợp, do đó ECU sẽ lấy giá trị của cảm biến nhiệt độ khí nạp tương đương 200 C và cảm biến nhiệt độ nước tương đương 890 C. Nên khi mô hình hoạt động, ECU không thể nhận biết cảm biến kích nổ hoạt động dể giảm góc đánh lửa sớm nên nó thực hiện giảm góc đánh lửa sớm tối đa, ECU không thể duy trì tỷ lệ hoà trộn ở dạng tối ưu và không thể thực hiện hồi lưu khí xả khi mất tín hiệu cảm biến ôxy, ECU sẽ coi như hoạt động ở giá trị tiêu chuẩn là 30 K Pa khi mất tín hiệu cảm biến áp suất chân không cổ họng. Sau đó so sánh giá trị lưu lượng nhận được tương ứng từng cốc đo với nhau để rút ra kết luận là lưu lượng nhiên liệu sẽ thay đổi khi thay đổi vị trí bướm ga và tốc độ động cơ.

        Sau đó so sánh lưu lượng nhận được ở từng cốc đo khi núm điều chỉnh ở vị trí 0Ω và vị trí núm ở giá trị điều chỉnh từ 0Ω ÷ 20Ω , để rút ra kết luận lưu lượng nhiên liệu sẽ thay đổi khi thay đổi giá trị điện trở trên cảm biến nhiệt độ khí nạp.

        CHẨN ĐOÁN HỆ THỐNG NHIÊN LIỆU

          Rút ra kết luận lưu lượng nhiên liệu sẽ thay đổi khi thay đổi khi thay đổi giá trị điện trở trên cảm biến nhiệt độ nước làm mát. - ECU Khi tốc độ động cơ giữa 1200 và 6000 v/p, tín hiệu từ cảm biến tiếng gừ khụng đến ECU trong một khoảng thời gian nhất định (KNK) Hở hay ngắn mạch trong tín hiệu cảm biến áp suất đường ống nạp (PIM) Hở hay ngắn mạch trong tín hiệu cảm biến vị trí bướm ga (VTA). Hở hay ngắn mạch trong mạch tín hiệu cảm biến nhiệt độ nước làm mát (THW) Hở hay ngắn mạch trong mạch tín hiệu cảm biến nhiệt độ khí nạp (THA).

          Do trên mô hình không có bố trí cảm biến tốc độ xe và hệ thống khởi động nên ta không thể thực hiện tấc cả các bước theo kiểu chẩn đoán theo chế độ kiểm tra.