Thiết kế Kinh tế Đường Dây và Trạm Biến Áp

MỤC LỤC

Kinh tế

Khi đánh giá những phương án cung cấp điện, chỉ tiêu kinh tế chỉ được xét đến khi các chỉ tiêu kỹ thuật nêu trên đã được đảm bảo. Việc đánh giá chỉ tiêu kinh tế phải thông qua so sánh tỉ mỉ và tính toán các phương án, từ đó mới có thể đưa ra những phương án tối ưu.

Phụ tải cực đại P max

Phụ tải đỉnh nhọn được dùng để kiểm tra dao động điện áp, điều kiện tự khởi động của động cơ, kiểm tra điều kiện làm việc của cầu chì, tính dòng điện khởi động của rơle bảo vệ. Bởi vì số lần xuất hiện của phụ tải đỉnh nhọn càng tăng thì càng ảnh hưởng tới sự làm việc bình thường của các thiết bị khác ở cùng một bảng điện.

Phụ tải tính toán P tt

Chúng ta không chỉ quan tâm đến trị số phụ tải đỉnh nhọn mà còn quan tâm đến tần suất xuất hiện của nó.

Hệ số thiết bị hiệu quả n hq

Phụ tải điện phụ thuộc vào nhiều yếu tố như: Công suất và số lượng các máy, chế độ vận hành của chúng, quy trình công nghệ sản xuất và trình độ vận hành của công nhân. Còn nếu phụ tải tính toán xác định lớn hơn phụ tải thực tế nhiều thì các thiết bị điện được chọn sẽ quá lớn so với yêu cầu, do đó gây ra chọn thiết bị lãng phí.

Xác định phụ tải tính toán theo suất tiêu hao điện năng trên một đơn vị sản phẩm

Xác định phụ tải tính toán theo suất tiêu hao điện năng trên một đơn.

Xác định phụ tải tính toán theo suất phụ tải trên một đơn vị diện tích sản xuất

Nếu một trạm biến áp dùng hai máy biến áp thì công suất của mỗi máy không vượt quá 1000 KVA, ngoài ra trên đường dây dài còn phải đảm bảo về tiêu chuẩn kinh tế và kỹ thuật, ứng với điện áp 0.4kV lớn nhất chỉ bằng 200m. Từ các ưu điểm và nhược điểm của các thiết bị điện như trên ta thấy trạm biến áp đặt hai máy có dung lượng mỗi máy là 200 kVA, nên ta dùng cầu trì tự rơi để đóng cắt và bảo vệ cho sơ đồ mạng cao áp của trạm biến áp là thích hợp.

Mạng cao áp tải điện trên không dài 1800m

Vỡ đường dõy 6 KV cấp điện cho trạm biến ỏp của trạm cấp nước ngắn nên chọn tiết diện dây dẫn theo mật độ dòng điện kinh tế. Chỉ tiêu chất lượng điện áp nguồn cho phép sai số không quá ± 5%, với phụ tải có yêu cầu chất lượng điện áp ổn định thì cho phép sai số không quá ±2,5%. Nhận xét: Khi làm việc bình thường tổn thất điện áp trên đường dây nhỏ hơn tổn thất cho phép, suy ra tiết diện dây dẫn đã chọn thỏa mãn yêu cầu kỹ thuật.

Tổn thất công suất trên đường dây

Tổn thất công suấ trong máy biến áp bao gồm tổn thất không tải (tổn thất sắt) và tổn thất có tải (tổn thất đồng). Spt: Phụ tải toàn phần (thường lấy bằng phụ tải tính toán Stt) (KVA) Sđm: Dung lượng định mức của máy biến áp (KVA). TÍNH TỔN THẤT ĐIỆN NĂNG TRÊN ĐƯỜNG DÂY VÀ TỔN THẤT ĐIỆN NĂNG TRÊN MÁY BIẾN ÁP.

TÍNH TOÁN DÂY DẪN 1. Mục đích tính toán

Tớnh toỏn độ vừng và ứng suất của dõy dẫn AC - 35 trong khoảng cột

Mục đích xác định lth để xem với một khoảng cột nào đó, ứng suất lớn nhất sẽ xuất hiện khi nào. Nếu l > lth thì σmax xuất hiện khi bão Nếu l < lth thì σmax xuất hiện khi θmin. Độ vừng của dõy là khoảng cỏch theo phương thẳng đứng từ điểm thấp nhất của dõy trong khoảng cột tới điểm treo cao của dõy.

Bảng 4-1: Thông số tỷ tải của dây dẫn AC - 35.
Bảng 4-1: Thông số tỷ tải của dây dẫn AC - 35.

Lựa chọn loại cột

Dự tính bố trí dây dẫn 3 pha trên cột đặt trên đỉnh tam giác đều, khoảng cách hình học giữa các pha phụ thuộc điện áp đường dây. Loại cột này được chế tạo tại nhà máy, nhờ các máy li tâm với cốt thép kéo trước hoặc không kéo trước. Tại các vị trí trung gian đặt 1 cột ly tâm LT12B; tại vị trí đầu tuyến và cuối tuyến đặt hai cột ly tâm LT12C, cột chôn sâu 2m.

Bảng 4-3: Phạm vi sử dụng các loại cột
Bảng 4-3: Phạm vi sử dụng các loại cột

Chọn xà, sứ

Tại tất cả các vị trí chọn dùng sứ đứng thủy tinh do Xí nghiệp thủy tinh cách điện Hải Phòng sản xuất. Móng cột đường dây trong các hệ thống cấp điện từ 35KV trở xuống thường dùng hai loại móng: móng chống lật (cho tất cả các vị trí cột) và móng chống nhỏ (cho dây néo). Địa hình tuyến 6KV đi qua nằm trong vùng đồi núi, nên dùng cột kép ở cột đầu và cột cuối không cần làm dây néo cho cột, tất cả móng cột được đổ bê tông tại chỗ.

Kiểm tra khả năng chịu lực (uốn) của cột trung gian

Các tải trọng thẳng đứng (trọng lượng cột, xà, xứ, dây, tải trọng xây lắp) bình thường không gây ra mô men chịu uốn với cột, nhưng nếu quá trình làm việc cột bị uốn cong thì các tải trọng này cũng gây ra một mô men uốn với cột. Trong trường hợp cần thiết kể đến mô men này, người ta lấy tăng trị số Mtt lên 10%.

Tính toán kiểm tra cột góc

Dây tạo với trục mặt chịu lực của cột một góc 600 nên lực kéo dây đặt vào cột Td = T.

Kiểm tra khả năng chống lật của móng cột đầu và cột cuối

Các trạm biến áp, trạm phân phối, đường dây tải điện cùng các nhà máy phát điện làm thành một hệ thống phát và truyền tải điện năng thống nhất. Trong chế độ làm việc lâu dài các khí cụ điện, sứ cách điện và các bộ phận cách điện sẽ làm việc tin cậy nếu quá trình lựa chọn chúng có các thông số theo đúng điều kiện ổn định nhiệt và ổn định động. Tóm lại, việc lựa chọn đúng đắn các thiết bị điện có ý nghĩa quan trọng là đảm bảo cho hệ thống cung cấp điện vận hành an toàn tin cậy và kinh tế.

Lựa chọn các thiết bị điện phía cao áp

Các đường dây trên không dù có được bảo vệ chống sét hay không thì các thiết bị điện nối với chúng đều phải chịu tác động của sóng sét truyền từ đường dây đến. Biên độ của quá trình điện áp khí quyển có thể lớn hơn điện áp của thiết bị, dẫn đến chọc thủng cách điện phá hoại thiết bị và mạch điện bị cắt ra. Thiết bị chống sét van sẽ hạ thấp biên độ sóng quá điện áp xuống đến trị số an toàn cho cách điện cần bảo vệ (cách điện của máy biến áp và các thiết bị khác đặt trong trạm).

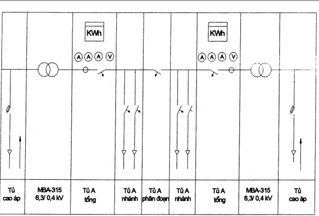
Hình 5.1: Sơ đồ đấu nối trong trạm biến áp
Hình 5.1: Sơ đồ đấu nối trong trạm biến áp

Lựa chọn các thiết bị điện phía hạ áp

Đồng hồ và công tơ do nhà máy thiết bị điện Trần Nguyên Hãn chế tạo, có tỷ số biến đổi 600/5 A cấp chính xác 0,5A để cấp dòng cho các đồng hồ trên. Các số liệu về tình trạng ngắn mạch là căn cứ quan trọng để giải quyết một loạt vấn đề như: lựa chọn thiết bị điện, thiết kế hệ thống bảo vệ rơle, định phương thức vận hành. Cách điện bị hư hỏng là do: vận hành lâu ngày nên cách điện bị già hóa mà không phát hiện kịp thời bằng cách thử nghiệm định kỳ; do sét đánh vào các đường dây tải điện hoặc sét đánh trực tiếp vào thiết bị phân phối điện bị đổ, khi đào đất chạm phải đường dây cáp.

Tính toán ngắn mạch phía cao áp

Vì vậy để đạt yêu cầu về cung cấp điện thì khi thiết kế chúng ta phải có biện pháp ngăn ngừa ngắn mạch xảy ra. Tính toán ngắn mạch nhằm kiểm tra các thiết bị điện và khí cụ điện như: máy ngắt điện, máy cắt phụ tải, dao cách ly, sứ thanh dẫn. Dòng điện định mức (A) Dòng điện cắt định mức (KA) Công suất cắt định mức (MVA).

Tính ngắn mạch phía hạ áp

Để tránh điện giật trước tiên phải chấp hành nghiêm chỉnh quy tắc vận hành các thiết bị điện, thứ nữa, người ta thực hiện nối đất các bộ phận có thể bị mang điện khi cách điện bị hỏng: thông thường các vỏ máy bằng kim loại đều phải nối đất. Để các thiết bị điện như: xà, sứ, cột làm việc an toàn trong điều kiện khi có cả giông bão, lúc này có thể sét đánh trực tiếp vào đường dây tải điện, dẫn đến sự cố đường dây tải điện, làm ngưng trệ cấp điện cho trạm cấp nước nhà máy. Ở các Thành phố lớn trạm phân phối thường dùng cáp ngầm, lớp bọc cáp có thể tiếp đất trực tiếp và tạo nên một điện trở tiếp đất rất nhỏ, sự có mặt của các mặt kim loại như ống nước dưới lòng đất sẽ hỗ trợ giúp làm giảm điện trở tiếp đất giữa nơi tiêu thụ và trạm biến áp.

Bảng 6-2: Bảng kiểm tra áptomát tổng
Bảng 6-2: Bảng kiểm tra áptomát tổng

Tiếp đất, điện trở suất của tiếp đất

Khi có sự cố dòng diện sẽ chạy từ dây tiếp địa của các thiết bị điện tới các cực nối đất của trạm biến áp qua môi trường đất. Vì vậy nếu một trong 3 pha có sự cố trạm đất chạy dọc theo mạng dây điện trên không thì người ta thấy không đảm bảo an toàn bởi vì nếu chiều dài quá lớn (hàng chục km) thì điện trở tiếp đất khó đạt thấp được. Mặt khác, khi đường dây tải điện phân phối có chiều dài lớn thì cứ mỗi chặng 1,6 km thì có 4 tiếp địa dây trung tính để đảm bảo an toàn.

Cách điện cực tiếp đất

Ở các vùng nông thôn, Thành phố nhỏ và các nhà máy không lớn thường dùng cáp tải điện trên không. Do đó người ta đặt tiếp đất ngay tại trạm biến áp để đảm bảo an toàn cho các thiết bị có sự cố và tiếp xúc với trạm.

Dây tiếp đất

Các phần bằng sắt ở trạm như: cổng trạm, vỏ máy biến áp, vỏ tủ phân phối. Sét là sự phóng điện trong khí quyển giữa các đám mây tích điện và đất hay giữa các đám mây mang điện tích trái dấu. Vì vậy phải có biện pháp bảo vệ chống sét để tránh cho các công trình bị sét đánh trực tiếp.

Bảo vệ chống sét cho trạm biến áp

Khả năng dập hồ quang của CSO rất hạn chế, ứng với một trị số dòng điện giới hạn nhất định, nếu dòng điện lớn, hồ quang không bị dập ắt gây ngắn mạch tạm thời làm cho bảo vệ rơle có thể cắt mạch điện. Nhưng cần chú ý là khi sóng quá điện áp tác dụng lên CSV, dòng xung kích có thể đạt tới vài ngàn ampe đi qua điện trở làm việc, tạo nên trên điện trở đó một điện áp xung kích gọi là điện áp dư của CSV. Với trạm 3 - 10 KV được bảo vệ theo sơ đồ đơn giản hơn, không cần đặt dây chống sé ở gần trạm mà chỉ cần đặt CSO ở cách trạm khoảng 200m, trên thanh góp của trạm hay sát máy biến áp đặt CSV.