Thiết kế máy nhấn tạo hình tole thủy lực

MỤC LỤC

Biến dạng dẻo kim loại trong trạng thái nguội

Thực tế cho thấy với sự gia tăng mức độ biến dạng nguội thì tính dẻo của kim loại sẽ giảm và trở nên giòn khó biến dạng.

Quá trình uốn

Khi uốn những dải hẹp xảy ra hiện tượng giảm chiều dày , chỗ uốn sai lệch hình dạng tiết diện ngang , lớp trung hòa bị lệch về phía bán kính nhoí. Tóm lại : trong quá trình uốn không phải toàn bộ phần kim loại ở phần uốn đều chịu biến dạng dẻo mà còn có 1 phần ở dạng đàn hồi.

Hình 3.4 Biến dạng của phôi thép khi uốn Xác định chiều dài phôi uốn
Hình 3.4 Biến dạng của phôi thép khi uốn Xác định chiều dài phôi uốn

THIẾT BỊ NHẤN TẠO HÌNH CÁC BIÊN DẠNG TẤM TRONG SẢN XUẤT HIỆN NAY

Mạy ẹp trủc khuyíu

    Khác với máy ép trục khuỷu ,máy ép thuỷ lực có tốc độ biến dạng kim loại không đổi,không gây qua tải ..Máy có cấu tạo phức tạp ,lực ép có trị số lớn nên thường dùng để chế tạo các chi tiết lớn ,phức tạp yêu cầu chất lượng cao. Máy ép tấm hành trình APH được cấu tạo từ khung thép hàn có độ cứng vững tĩnh& động trong quá trình vận hành.Cả hệ thống thuỷ lực và thùng dầu được đặt trên đỉnh máy cho phép không gian làm việc nhiều hơn ở phía sau.Hình dạng của thép tấm được thực hiện nhờ chày dập ,nó nối khớp với xà trên và dao.Dao được tạo các rảnh V mà mỗi rảnh V ứng với 1độ dày của thép tấm.

    Hình 4.1 Sơ đồ nguyên lý mây ĩp trục khuỷu        Nguyên lý hoạt động
    Hình 4.1 Sơ đồ nguyên lý mây ĩp trục khuỷu Nguyên lý hoạt động

    GIỚI THIỆU CÁC LOẠI KHUÔN NHẤN

    Khuôn nhấn chử V

    Nhấn trên máy nhấn có thể sử dụng dụng cụ nhấn đơn giản ,do đó chế tạo rẽ tiền.Khi nhấn các sản phẩm đơn giản có thể nhấn một lần trong khuôn ,còn khi hình dáng phức tạp thì phải qua nhiều lần, qua một vài bộ khuôn .Lần nhấn bằng số lần bẻ gập trên tiết diện sản phẩm. Thường chúng có dạng thẳng và cong.Chày nhấn thẳng thường để nhấn những nguyên công đầu tiên ,cũng có thể nhấn ở những nguyên công thứ hai và nguyên công sau,khi nhấn góc ở những sản phẩm có hình dạng hộp rộng.

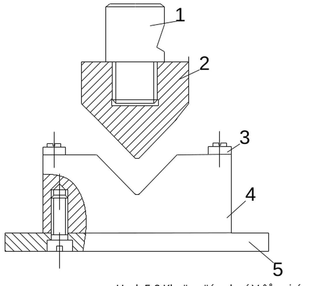
    Hình 5.2 Khuôn uốn chử V đơn giản Khuôn gồm có chuôi chày 1 lắp với chày uốn 2 bằng ren.
    Hình 5.2 Khuôn uốn chử V đơn giản Khuôn gồm có chuôi chày 1 lắp với chày uốn 2 bằng ren.

    GIỚI THIỆU VỀ MÁY NHẤN THUỶ LỰC VÀ YÊU CẦU KỸ THUẬT

    Giới thiệu

      Bao gồm xy lanh thuỷ lực và các van phân phối, đồng hồ đo áp, van an toàn, van một chiều, van tiết lưu, bơm dầu, động cơ dầu, đường ống dẫn, bễ dầu..được bố trí bên trên của thùng chứa dầu để phân phối lưu lượng và áp suất cho các xy lanh trong quá trình hoạt động của máy. Các chuyển đọng của pittông phải thực hiện một cách đồng bộ không có chênh lệch về vận tốc ,hành trình do đó phải chế tạo các bộ phận của máy chính xác đồng thời phải dùng các phần tử thuỷ lực để làm đồng bộ các giá trị như các van tiết lưu hay là trục truyền đồng bộ.

      PHÂN TÍCH CHỌN PHƯƠNG ÁN THIẾT KẾ MÁY

      Cạc phỉồng ạn õọỹng lỉỷc

        Khi ly hợp 3 đóng chuyển động được truyền đến trục khuỷa đồng thời phanh hãm 4 được nhả ra.Khi trục khuỷa quay truyền chuyển động đeén con trượt công tác thông qua thanh truyền 6. Khi đến vị trí cuối của hành trình ép vấu 8 tỳ vào cữ 9 làm cho cần điều khiển10 đi xuống đẩy trục 4 qua trái và đĩa ma sát 5 tỳ vào bánh ma sát 6 làm cho trục vít quay theo chiều ngược lại đưa đầu trượt đi lên đến cữ hành trình 7, cần 10 lại được nhấc lên, trục 4 được đẩy sang phải lặp lại quạ trỗnh trón.

        Hình 7.3Sơ đồ nguyên lý máy nhấn thủy lực
        Hình 7.3Sơ đồ nguyên lý máy nhấn thủy lực

        Lựa chọn phương án thiết kế máy

        Tạo tiền đề cho sự vươn tới một nền công nghiệp hoá, hiện đại hoá đất nước, góp phần nâng cao chức năng, vai trò của một máy ép thuỷ lực trong công việc gia công các sản phẩm cơ khí, tạo ra các sản phẩm phù hợp về chất lượng, số lượng, thúc đẩy sự phát triển cuía cạc ngaình cọ liãn quan. Với yêu cầu đặt ra của việc tạo hình cho tủ bảng điện ta chọn phương án máy nhấn thuỷ lực tạo lực ép 300 tấn dùng cơ cấu 3 xy lanh-Píttông.

        THIẾT LẬP SƠ ĐỒ ĐỘNG HỌC TOÀN MÁY

        Sơ đồ động học toàn máy

        Khi chưa có tải bàn máy xuống nhanh, áp suất trên hệ thống không đáng kể, đến khi va chạm vào phôi liệu áp suất tăng dần và đạt giá trị xác định, được điều chỉnh bằng công tắc áp suất tùy theo yêu cầu của sản phẩm, tốc độ bàn máy xuống chậm khi áp suất trên hệ thống lớn. Sau khi kết thúc thời gian giữ tải, rơle thời gian(hoặc người sử dụng) tự động đóng điện cho van xả áp cung cấp dầu cho buồng dưới xy lanh nâng bàn máy đi lên cho đến khi tác động vào công tắc hành trình, bàn máy tự động dừng lại, giai đoạn lên kết thúc.

        Hình 8.2 Sơ đồ hệ thống thủy lực
        Hình 8.2 Sơ đồ hệ thống thủy lực

        TÍNH TOÁN THIẾT KẾ CÁC HỆ THỐNG TRUYỀN ĐỘNG CỦA MÁY NHẤN

        Tính chọn bơm dầu và công suất của động cơ 1 Tính chọn bơm dầu

          Như vậy trước khi đi chọn bơm dầu để đạt được áp suất và lưu lượng cho hệ thống dầu ép, có thể dùng các loại bơm khác nhau, mỗi loại bơm khi sử dụng vào hệ thống phải phù hợp với đặt tính kỹ thuật và đặt tính kinh tế của nó. Với yêu cầu của máy thiết kế, dựa vào giá trị áp suất làm việc lớn nhất của hệ thống Pmax = 362 (kG/cm2) ta chọn bơm cho hệ thống là loại bơm pistông hướng trục. Bơm pistông hướng trục có các ưu điểm sau:. - Kích thước nhỏ gọn. - Làm việc với áp suất cao. - Hiệu suất làm việc tốt và hầu như không phụ thuộc vào tải troüng. Kí hiệu bơm dầu. Hình 9.5 Sơ đồ ký hiệu của bơm c) Chọn bơm dầu là bơm piston hướng trục.

          Sơ đồ cấu tạo
          Sơ đồ cấu tạo

          Tênh choün van an toaìn

            (“Truyền động thủy lực trong chế tạo máy”, tác giả :Trần Doản Đỉnh, Nguyễn Ngọc Lê, Phạm Xuân Mão, Nguyễn Thế Thưởng, Đổ Văn Thi, Hà Vàn Vui) Trang 33. 5- Loì xo mảnh 6- Vít điều chỉnh b)Nguyón lyù hoảt õọỹng. Qua tính toán trên ta thấy rằng đặt tính quan trọng của van tràn là sự thay đổi áp suất điều chỉnh p1khi lưu lượng qua van tràn thay đổi.Van sẽ làm việc tốt nếu như sự thay đổi áp suất càng bé khi lưu lượng thay đổi trong suốt những giá trị lưu lượng từ (Qmin đến Qmax).

            Tênh toạn cho van caín

            Qua tính toán trên ta thấy rằng đặt tính quan trọng của van tràn là sự thay đổi áp suất điều chỉnh p1khi lưu lượng qua van tràn thay đổi.Van sẽ làm việc tốt nếu như sự thay đổi áp suất càng bé khi lưu lượng thay đổi trong suốt những giá trị lưu lượng từ (Qmin đến Qmax). Thaân van Bi. a) Xác định độ mở của van. (“Truyền động thủy lực trong chế tạo máy”, tác giả :Trần Doản Đỉnh, Nguyễn Ngọc Lê, Phạm Xuân Mão, Nguyễn Thế Thưởng, Đổ Văn Thi, Hà Vàn Vui) Trang 133. h: độ mở hướng trục. ∆p : độ chênh áp giữa buồng vào và buồng ra. Q: lưu lượng chảy qua van cản, ở đây ta lấy giá trị lưu lượng hồi về lớn nhất ở hành trình chạy không. b) Tờnh lổỷc loỡ xo. Phương trình cân bằng lực của nút van khi nó chưa mở Plx = ∆p.π. Van tiết lưu là cơ cấu tạo ra sức cản thuỷ lực cục bộ, đặt trên đường chảy của chất lỏng để điều chỉnh lưu lượng hoặc giảm áp suất của dòng chất lỏng. Ký hiệu van tiết lưu :. a) Sơ đôì kí hiệu van tiết lưu khong điều chỉnh được b) Sơ đôì kí hiệu van tiết lưu điều chỉnh được.

            Hình 9.11 Sơ đồ nguyên lý van điều khiển b) Nguyón lyù hoảt õọỹng
            Hình 9.11 Sơ đồ nguyên lý van điều khiển b) Nguyón lyù hoảt õọỹng

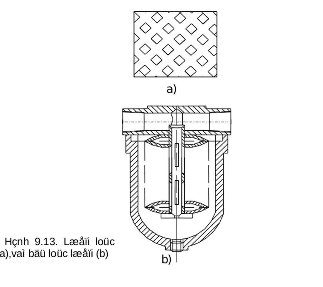
            Chọn lọc dầu

              Đối với bộ lọc bề mặt, chất bẩn được giữ lại chủ yếu là trên bề mặt vật liệu lọc có phần tử lọc được làm bằng lưới kim loại, vải, sợi, trong khi đó chất lỏng trực tiếp đi qua các mắt lưới cua phần tử lọc. Bộ lọc là cơ cấu mà trong đó chất lỏng được làm sạch các hạt bẩn từ ngoài rơi vào nó, cũng như các hạt được tạo thành do sự mài mòn hoặc ô-xy hoá các chi tiết của thiết bị thuỷ lực và ô-xi hoá bản thân chất loíng.

              Hình   9.13.   Lưới   lọc  (a),và bộ lọc lưới (b)
              Hình 9.13. Lưới lọc (a),và bộ lọc lưới (b)

              Tính chọn đường ống dẫn dầu và chọn ống nối .1.Tính chọn đường ống dẩn dầu

                Trong hệ thống đường ống áp suất dầu bao giờ cũng rất cao, để đảm bảo đường ống làm việc được không bị hỏng thì đường ống phải đủ sức bền với một chiều dày nhất định. Tuy đối với thép thì khó nong hơn đồng, nhôm và các loại ống mềm khác nhưng nhờ chiều dày thành ống khá nhỏ so với đường kính nên ống cũng được nong dễ dàng.

                Hình 9.17  Mối nối  ống thẳng cuối có  ống nong
                Hình 9.17 Mối nối ống thẳng cuối có ống nong

                Lựa chọn bể chứa dầu

                Về hỗnh dảng. bình chứa dầu nên thiết kế cao và hẹp tốt hơn là nông và rộng. Cùng dung tích nhưng bình cao và hẹp có mức dầu cao hơn bình nông và rộng. Mức dầu trong bình cao hơn cửa ống nạp của bơm, sẽ tránh sư xoáy lốc Hình 9.20 Sơ đồ kết cấu bể. Dầu tư ì hệ thống Bọỹ. loüc Vạch ngàn. Thaình bể dầu. Loỹc khọng khờ. Nếu có sự xoáy lốc của dầu ở đường ống nạp sẽ có không khí đi vào hệ thống, khi dầu có lẫn không khí khả năng truyền công suất sẽ giảm vì không khí bị nén. Hơn nữa, không khí sẽ làm giảm khả năng bôi trơn của dầu. b)Các thông số cơ bản. Bộ lọc trên đường ống nạp của bơm có thể không cần thiết phải bảo dưỡng thường xuyên nhưng màng lọc trên đường ống dầu trở về phải được thay thế sau thời gian qui định.

                Bảo dưỡng vận hành máy

                  Trên bình chứa thường có ô kính kiểm soát hoặc một que kiểm tra để người vận hành hệ thống thủy lực có thể kiểm tra mực dầu. Lưới lọc phải luôn luôn sạch và không bị kẹt làm thiếu lưu lượng của dầu qua bơm dẩn đến bọt khí làm phá hủy bơm, trong không khí có hơi nước làm oxy hóa các thiết bị thủy lực.

                  THIẾT KẾ QUY TRÌNH CÔNG NGHỆ GIA CÔNG KHUÔN NHẤN TẠO HÌNH

                  Thiết kế quy trình công nghệ chế tạo cối nhấn

                  • Thiết kế quy trình công nghệ gia công khuôn nhấn
                    • Nọỹi dung cạc nguyón cọng : 1.Nguyón cọng 1

                      *Nếu có một số bề mặt không gia công thì ta chọn thì ta chọn bề mặt nào có yêu cầu độ chính xác tương quan cao nhất đối với các bề mặt gia công làm chuẩn thô. Bán kính góc lượn r=3mm.Ở đây ta dùng phương pháp cạo rà để đạt kích thước cần thiết ,phương pháp này thực hiện bằng tay hay bán cơ khí .Tuy phương pháp này có năng suất thấp nhưng gia công được nhiều dạng bề mặt khác nhau.

                      Hình 10.3  : Sơ đồ định vị phay.
                      Hình 10.3 : Sơ đồ định vị phay.

                      Thiết kế quy trình công nghệ gia công chày

                      • Thiết kế quy trình công nghệ gia công chày nhấn
                        • Nọỹi dung cạc nguyón cọng : 1.Nguyên công 1:Phay mặt B

                          Chuẩn thô được dùng ở nguyên công đầu tiên trong quá trình gia công ,việc chọn chuẩn thô có ý nghĩa quyết định đối với quá trình công nghệ,nó. Bán kính góc lượn r=2mm.Ở đây ta dùng phương pháp cạo rà để đạt kích thước cần thiết ,phương pháp này thực hiện bằng tay hay bán cơ khí .Tuy phương pháp này có năng suất thấp nhưng gia công được nhiều dạng bề mặt khác nhau.

                          Hình 10.9 :Kết cấu của khuôn đúc Xác định khối lượng và kích thước phôi:
                          Hình 10.9 :Kết cấu của khuôn đúc Xác định khối lượng và kích thước phôi:

                          TÀI LIỆU THAM KHẢO

                          GIỚI THIỆU VỀ CÁC LOẠI SẢN PHẨM NHẤN TẠI CÔNG TY CỔ PHẦN CƠ ĐIỆN MIỀN TRUNG.