Tính toán chế độ làm việc của cần trục phục vụ tại CẢNG - ICD

MỤC LỤC

TÍNH TOÁN CÁC CƠ CẤU CẦN TRỤC

XÁC ĐỊNH CHẾ ĐỘ LÀM VIỆC CỦA CẦN TRỤC

Có rất nhiều tài liệu khác nhau hướng dẫn cách tính toán chế độ làm việc nhưng ở nước ta hiện nay vẫn dùng còn dùng theo tiêu chuền cũ nên trong phần này ta sẽ sử dụng cách tín toán cũ để tiện cho việc sử dụng tài liệu hiện có. - Trong một máy nâng (hay cần trục) các cơ cấu có thể làm viêc toaứn chế độ làm việc nhưng ở nước ta hiện nay vẫn dùng còn dùng theo tiêu chuền cũ nên trong phần này ta sẽ sử dụng cách tính toán cũ để tiện cho việc sử dụng tài liệu hiện có. Trục cần kiểm tra tại các tiết diện tập trung ứng suất lớn nhất là tiết diện tại vị trí D ( đặt lực S ) - Trục cần kiểm tra tại khả năng tập trung ứng suất lớn nhất : tiết diện I-I Ta kiểm tra tại tiết diện nguy hiểm nhất.

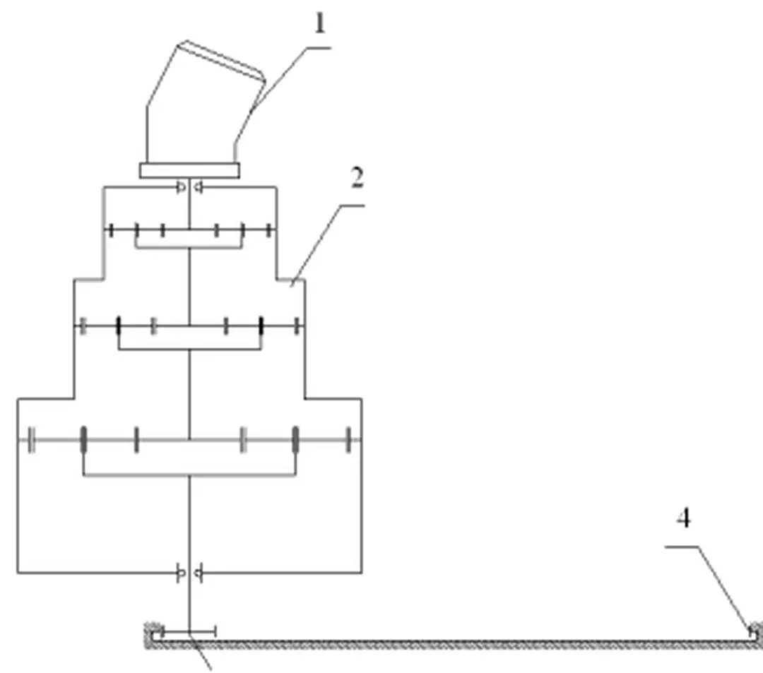
4.3- SƠ ĐỒ TRUYỀN ĐỘNG CỦA CƠ CẤU NÂNG :
4.3- SƠ ĐỒ TRUYỀN ĐỘNG CỦA CƠ CẤU NÂNG :

TÍNH TOÁN CƠ CẤU QUAY

Ngoài các mômen cản tĩnh còn có mômen cản do quán tính khối lượng vật nâng và các bộ phận trên phần quay của cần trục xuất hiện trong thời kì chuyển động không ổn định (thời kì mở máy và thời kì phanh). + (GD2)q : Tổng mômen vô lăng các bộ phận của phần quay (kể cả vật nâng) đối với trục quay của cần trục. Nhưng để tiện cho việc tính toán, ta lấy ρ1 ≈ li – khoảng cách từ trục quay đến trọng tâm các bộ phận đó.

- Vì tỉ số truyền lớn nếu ta bố trí hộp giảm tốc loại bình thường thì nó sẽ chiếm diện tích lớn do đó yêu cầu cần thu hẹp diện tích chiếm chỗ của bộ truyền ta sử dụng bộ truyền kiểu hành tinh, bố trí kiểu đứng sẽ có kết cấu gọn hơn. - Động cơ đặt đứng được lắp trên hộp giảm tốc, còn hộp giảm tốc hành tinh cũng được đặt đứng có trục ra được lắp bánh răng con ăn khớp với vành răng lớn gắn cố định trên phần không quay. Khi hoạt động, bánh răng chủ động quay, lăn quanh vành răng cố định, kéo theo phần quay chuyển động.

- Hộp giảm tốc hành tinh mặc dù có yêu cầu cao về độ chính xác trong chế tạo và lắp ráp cũng như có cấu tạo phức tạp, song nó có tỉ số truyền cao, kích thước nhỏ gọn và hiệu suất cao. - Do tốc độ quay của cần trục nhỏ và sử dụng 3 cơ cấu để dẫn động quay, và để cho kết cấu được nhỏ gọn ta sử dụng phanh được lắp đặt ngay trên trục của động cơ thủy lực.

Hình 5.1: Sơ đồ truyền động cơ cấu quay.
Hình 5.1: Sơ đồ truyền động cơ cấu quay.

TÍNH TOÁN CƠ CẤU THAY ĐỔI TẦM VỚI

+ b là cánh tay đòn từ điểm đặt lực Sc đến chốt đuôi cần + c là cánh tay đòn từ điểm đặt lực Sv đến chốt đuôi cần + Gc là trọng lượng bản thân cần. + Pqt là lực quán tính do khối lượng cần và vật nâng cùng với móc gây ra + P1 ,P2 là lực li tâm do trọng lượng cần và trọng lượng hàng cùng với móc gây ra khi nâng hạ cần kết hợp với quay cần trục. - Trục tang được tính dựa vào tài trọng tác dụng lên thành tang của cáp nâng.Thành tang được coi là một dầm phụ mà các mayơ được xem là các mắt tác dụng lên thành chính.Trường hợp tính trục tang là trường hợp tính với tải trọng định mức và hàng ở vị trí thấp nhất.

- Trục tang không nối với trục ra của hộp giảm tốc nên nó không chịu mômen xoắn mà chỉ chịu ứng suất uốn thay đổi theo chu kì đối xứng.Trục tang được đưa về một dầm có một gối khớp và một gối di động.Gối di động ở vị trí nối với trục ra của hộp giảm tốc,còn gối khớp ở vị trí gối đỡ của trục tang. - Trục cần được kiểm tra tại tiết diện có khả năng có ứng suất tập trung lớn nhất, ta nhận thấy điểm D là điểm nguy hiểm nhất vì mômen uốn tại đây lớn nhất. - Ổ đỡ bờn trỏi trục ùtang là ổ lồng cầu 2 dóõy thanh lăn cho phộp độ khụng đồng tâm giữa 2 ổ và có hệ số khả năng làm việc cao , đường kính ổ lắp trục tại đây d= 80 mm, tải trọng lớn nhất tác dụng lên ổ là tải trọng hướng tâm bằng phản lực tại ổ là RA.

Ta chọn tất cả puly của cần trục có cùng đường kính để thuận lợi về chế tạo, gia công và sửa chữa giảm được chi phí chế tạo mang tính công nghệ cao. - Vì vận tốc nâng cần tương đối lớn nên để dừng cơ cấu nâng được an toàn nên ta chọn phanh đĩa áp lên bánh răng cố định của hộp giảm tốc hành tinh đặt trong tang.

   6.3.1- Sơ đồ mắc cáp:
6.3.1- Sơ đồ mắc cáp:

TÍNH TOÁN KẾT THÉP PHẦN ỐNG NỐI CẦN TRỤC

Đối với cần trục Cảng làm việc trong điều kiện gió, tải trọng gió tác dụng lên máy trục theo phương ngang và được phân bố trên mặt phẳng chịu lực, được phân bố đều lên kết cấu. Khi cần trục làm việc, trong thời kì các cơ cấu làm việc có gia tốc(khởi động, hãm, thay đổi vận tốc.) làm phát sinh các tải trọng do quán tính. - Ở trạng thái làm việc các tải trọng trên không đồng thời tác dụng lên cần trục trong cùng một thời điểm, mà tác dụng theo từng nhóm gọi là các tổ hợp tải trọng.

+ Trường hợp 3(TH3) Cần trục làm việc dưới tác dụng của gió, cơ cấu nâng hoạt động, đồng thời cơ cấu thay dổi tầm với hoạt động. - Cần trục CBB(25)40/32 là cần sức có sức nâng không thay đổi theo tầm với, và chỉ có thể làm việc với sức nâng 40tấn + tầm với 32m trong điều kiện Chân đế cẩu được chế tạo mới đáp ứng đủ yêu cầu về độ bền khi dưới tác dụng của các tải trọng tác dụng lên kết cấu. + Cũng có thể giảm các thông số như vận tốc nâng(hạ) hàng, vận tóc quay, vận tốc thay đổi tầm với … nhằm giảm các tải trọng quán tính tác dụng lên các kết cấu của cần trục.

- Việc xác định tầm với thích hợp ứng với độ bền cảu chân đế khi sức nâng cần trục là không đổi (Q=40T) cần được thực hiện tại nhiều vị trí. - Kết quả tính toán tương ứng R giảm lần lượt 2m, ta nhận thấy ở vị trí R=22m nội lực trong chân đế có đã gần bằng nội lực giới hạn chân đế.

  7.5.1- Sơ Đồ Tính Oáng Trụ.
7.5.1- Sơ Đồ Tính Oáng Trụ.

LẬP QUY TRÌNH CÔNG NGHỆ CHẾ TẠO KẾT CẤU THÉP ỐNG TRỤC ĐỠ

+ Quá trình cuốn được thực hiện thông qua sự chuyển động của các trục của máy cuốn tole, sự chuyển động này có thể được lập trình trước đối với máy CNC hoặc cũng có thể do công nhân vận hành máy thực hiện. - Sau khi cuốn xong, dùng xe nâng hạ xuống trên mặt nền và tiến hành kiểm tra độ Oâvan của ống, độ sai lệch cho phép là ≤2mm, sai lệch đường kính ngoài là 4mm. Nếu dòng điện quá yếu sẽ xảy ra hiện tượng non lửa, nhiệt độ thấp, rãnh hàn không đủ chảy, kim loại lỏng của que hàn nguội riêng lẽ không có liên kết phân tử, chất lượng đường hàn xấu.

- Nếu dòng điện quá lớn gây ra hiện tượng quá lửa, nhiệt độ cao làm ôxi trong không khí lọt vào thép tạo nên các oxít hay đốt cháy cacbon mangan làm giảm độ bền của đường hàn. - Kiểm tra bằng mắt: thông thường chỉ phát hiện được những sai sót bờn ngoài mặt đường hàn khụng đều ,lồi ,lừm,rạn nứt…. - Dùng phương pháp vật lý: điện từ, quang tuyến,siêu âm…Các phương pháp này cho kết quả chính xác hơn tôi không áp dụng để kiểm tra đường hàn, nó chỉ được dùng cho loại công trình chịu lực đặt biệt như: bể chứa,đường ống cao áp ….

+ Quy cách vát mép, chất lượng lắp ghép các chi tiết và kích thước mối hàn phải phù hợp với các yêu cầu về tiêu chuẩn hàn. - Sai lệch kích thước cho phép của ống trụ sau khi hàn là ±2mm và được kiểm tra bằng việc đo 8 vị trí đối xứng trên ống trụ.

Hình 9.1- Quy trình cuộn tole trên máy cuộn tole 3 trục.
Hình 9.1- Quy trình cuộn tole trên máy cuộn tole 3 trục.

QUY TRÌNH LẮP RÁP CẦN TRỤC

- Dịch chuyển vào sao cho vị trí chốt đuôi cần vào đúng vị trí cần lắp trên phần quay.

Hình 10.3-   Lắp ráp phần quay cần trục với Adapter
Hình 10.3- Lắp ráp phần quay cần trục với Adapter

QUY TRÌNH THỬ NGHIỆM CẦN TRỤC

- Nhằm kiểm tra lại độ bền của cầu trục và các bộ phận của nó. Thử tải tĩnh được coi là đạt yêu cầu nếu trong 10 phút tải không bị rơi xuống đất, kết cấu kim loại không có vết nứt hoặc biến dạng vĩnh cửu. - Thử động cần trục được tiến hành sau khi thử tĩnh đạt yêu cầu bằng tải trọng thử quá tải 110%SWL, với mục đích kiểm tra toàn bộ các cơ cấu của cần trục và phanh, hãm của nó.

- Khi thử động, tải trọng thử được nâng lên hạ xuống ít nhất 3 lần và phải kiểm tra sự hoạt động của các cơ cấu khi mang tải. - Thử tải động được xem là đạt yêu cầu khi các phanh của cơ cấu đạt yêu cầu, cần không bị cong vênh, không có biến dạng dư và các hư hỏng khác.

Hình 10.1- Thử không tải cần trục
Hình 10.1- Thử không tải cần trục