Thiết kế hệ thống treo độc lập và mô phỏng dao động xe

MỤC LỤC

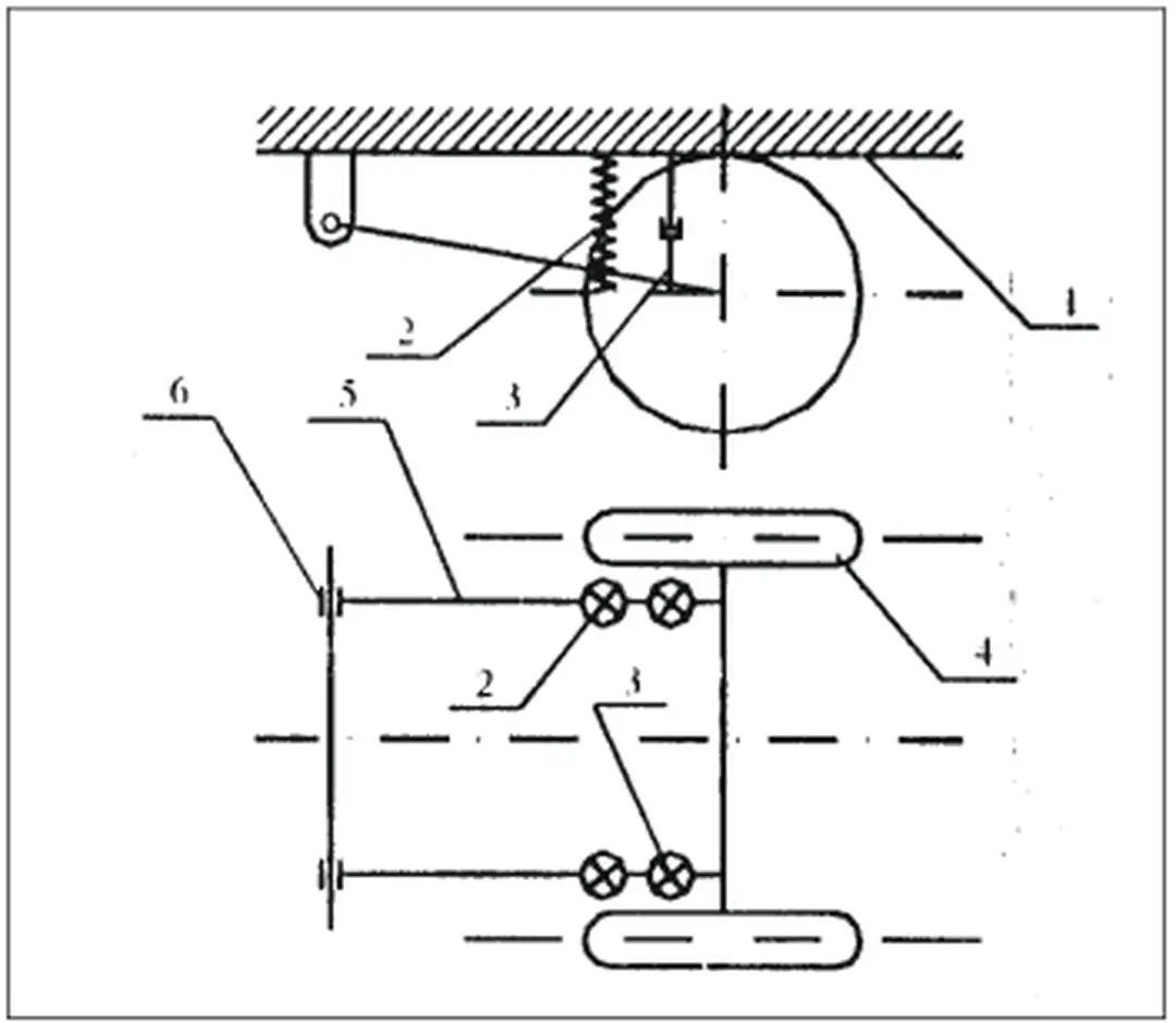
Bé phËn dÉn híng

Bộ phận dẫn hớng có nhiệm vụ truyền các lực dọc, lực ngang và các mômen từ bánh xe lên khung hoặc thân xe. Nó có thể có những chi tiết khác nhau tùy thuộc hệ thống treo phụ thuộc hay độc lập, phần tử đàn hồi là nhíp, lò xo hay thanh xoắn.

Bộ phận giảm chấn

Van trả, van nén của hai cụm van nằm ở piston và xylanh trong cụm van bù có kết cấu mở theo hai chế độ, hoặc các lỗ van riêng biệt để tạo nên lực cản giảm chấn tơng ứng khi nén mạnh, nén nhẹ, trả mạnh, trả nhẹ. Trong một giảm chấn một lớp vỏ không còn bù dầu nữa mà thay thế chức năng của nó là buồng 8 chứa khí nén có P = 2n3 KG/cm2 đây là sự khác nhau giữa giảm chấn một lớp vỏ và hai lớp vỏ.

Thanh ổn định

Giảm chấn này có độ nhạy cao kể cả khi piston dịch chuyển rất nhỏ, tránh đợc hiện tợng cỡng bức chảy dầu khi nhiệt độ thay đổi sẽ làm cho áp suất thay đổi. + Khi có cùng đờng kính ngoài, đờng kính của cần piston có thể làm lớn hơn mà sự biến động tơng đối của áp suất chất lỏng sẽ nhỏ hơn.

Các vấu cao su tăng cứng và hạn chế hành trình

+ Giảm chấn có piston ngăn cách có thể làm việc ở bất kỳ góc nghiêng bố trí nào. Vấu cao su vừa tăng cứng vừa hạn chế hành trình của piston nhằm hạn chế hành trình làm việc của bánh xe.

Phân loại hệ thống treo

Hệ thống treo phụ thuộc

Để đảm bảo truyền đợc lực ngang và ổn định vị trí thùng xe so với cầu ngời ta cũng phải dùng thêm “đòn Panhada”, một đầu nối với cầu còn đầu kia nối với thùng xe. - Khối lợng phần không đợc treo lớn, đặc biệt là ở cầu chủ động nên khi xe chạy trên đờng không bằng phẳng, tải trọng động sinh ra sẽ gây nên và đập mạnh giữa phần không treo và phần treo làm giảm độ êm dịu chuyển động.

Hệ thống treo độc lập

Nhng nhợc điểm chủ yếu của hệ treo Mc.Pherson là do giảm chấn vừa phải làm chức năng của giảm chấn lại vừa làm nhiệm vụ của trụ đứng nên trục giảm chấn chịu tải lớn nên giảm chấn cần phải có độ cứng vững và độ bền cao hơn do đó kết cấu của giảm chấn phải có những thay đổi cần thiết. Do hệ thống treo Mc.Pherson có những u điểm nổi bật là đảm bảo động học các bánh xe tốt nhất, khi dao động bánh xe luôn nằm trong mặt phẳng thẳng đứng, bề rộng cơ sở thay đổi rất nhỏ, cũng nh nhu cầu thiết kế và kiểm tra chất lợng xe đã thiết kế chế tạo thuộc dự án KC.05.DA.13: “Hoàn thiện thiết kế, công nghệ chế tạo và lắp ráp dòng xe minibus thông dụng 6-8 chỗ ngồi mang nhãn hiệu Việt Nam ” nên trong đồ án này đi thiết kế tính toán hệ thống treo Mc.Pherson cho xe minibus 8 chỗ ngồi MEFA5-LAVI-304N sản suất và lắp ráp tại Việt Nam có phần tử đàn hồi là lò xo trụ đợc đặt lồng bên ngoài trụ.

Hình 1.9 - Sơ đồ nguyên lý hệ treo hai đòn dọc.
Hình 1.9 - Sơ đồ nguyên lý hệ treo hai đòn dọc.

Giới thiệu dự án KC.05.DA.13

Mục đích và nội dung của dự án

Do khoa học và công nghệ đo lờng phát triển, ba dạng thí nghiệm trên hoàn toàn đợc giải quyết mà không gặp cản trở nào tuy nhiên vấn đề hạn chế là khả năng tài chính, vì mỗi lần thí nghiệm là rất tốn kém. Đo dao động thờng cần các cảm biến gia tốc, chuyển vị và đi kèm là các máy đo và máy xử lý, tuy nhiên cảm biến và thiết bị đo dao động ôtô là các cảm biến và thiết bị đo có dải tần thấp và biên độ lớn.

Yêu cầu của dự án trong thiết kế tính toán hệ thống treo và dao động

+ Xây dựng bộ tài liệu hoàn thiện về Công nghệ thiết kế và chế tạo, lắp ráp ô tô.

Nhiệm vụ và phơng pháp nghiên cứu của đề tài

Nhiệm vụ của đề tài

Dựa vào phần tổng quan về tình hình nghiên cứu dao động trong nớc và thế giới, cũng nh vai trò quan trọng của ô tô trong nền kinh tế quốc dân, phân tích các yếu tố lắc ngang và lắc dọc của xe, các yếu tố phi tuyến của hệ thống treo, nghiên cứu sự ảnh hởng các thông số đến quá trình tách bánh, từ sự nhìn nhận mới về nguồn kích động và các mục tiêu..thì việc tính toán và thiết kế hệ thống treo và nghiên cứu mô phỏng dao động của xe có ý nghĩa rất to lớn. Xuất phát từ những yêu cầu đó, chúng em đã lựa chọn đề tài: “Tính toán thiết kế hệ thống treo và nghiên cứu mô phỏng dao động của xe minibus 8 chỗ ngồi sản xuất, lắp ráp tại Việt Nam”.

Phơng pháp nghiên cứu

Mô hình xây dựng trong luận văn này là phi tuyến(để gắn liền với thực tế) và để có thể nghiên cứu sâu hơn về các yếu tố phi tuyến nh hệ số đàn hồi C, hệ số cản giảm chấn K, sự tách bánh xe khỏi đờng. Trong chơng 1 đã trình bày những nét tổng quan về tình hình phát triển công nghiệp ô tô Việt Nam trong những năm qua và mục tiêu sắp tới, các dạng kết cấu của hệ thống treo hiện đang đợc sử dụng rộng rãi trên thế giới cũng nh tại Việt Nam, tổng quan về vấn đề nghiên cứu dao động ô tô, nhu cầu và tính cấp thiết của dự án sản xuất thử nghiệm KC.05.DA.13.

F CL1P F KL1PFC1PFK1P

Các yếu tố phi tuyến có thể có trong mô hình dao động

    Trong hệ thống dao động của ô tô nói chung có rất nhiều yếu tố phi tuyến vật lý nh: đặc tính cản của giảm chấn, ma sát trong hệ thống treo, hiện tợng va đập, hiện tợng tách bánh cũng nh các yếu tố phi tuyến hình học. - Đối với xe tải thì phần tử đàn hồi thờng là nhíp lá, để cải thiện tính thích ứng của nhíp khi tải thay đổi, ở hệ treo sau ngời ta thờng lắp thêm nhíp phụ hoặc ụ hạn chế nên đặc tính động học của phần tử đàn hồi có dạng phi tuyến (đờng đặc tính bị gãy ở đờng chuyển tiếp). Đối với hệ động lực ma sát khô th- ờng đợc coi là bằng hằng số có phơng ngợc chiều chuyển động.Cũng giống nh ma sát nhớt thì nó là hàm của vận tốc,song khác với ma sát nhớt hàm đặc tính của ma sát khô nằm ngang.

    Kết quả mô phỏng

    • Kết quả mô phỏng mô hình
      • Nghiên sự tách bánh của xe

        Khi cha thay đổi thông số kết cấu của xe thì bánh xe(đợc biểu diễn bằng. đờng màu đen) sẽ luôn có xu hớng bám sát với đờng và giữ một khoảng cách an toàn so với thời điểm bánh xe bị tách khỏi mặt đờng(đờng màu đỏ), đảm bảo không bị tách bánh trong quá trình dao động. Dạng thứ nhất là đo tĩnh một số dao động trên bệ thử với kích động có chu kỳ và biên độ xác định, khảo sát các thông số đặc trng cho các phản ứng của ô tô trên bệ. Trong khuôn khổ của dự án nhóm nghiên cứu chọn phơng pháp thử trên đờng với mục đích đo một số thông số hữu hạn dao động lắc dọc của xe minibus để khảo sát và so sánh thông số đo đ- ợc và thông số tính toán.

        Hình 3.30- Chuyển vị của khối lợng không đợc treo trớc,sau theo phơngZ
        Hình 3.30- Chuyển vị của khối lợng không đợc treo trớc,sau theo phơngZ

        Đối tợng thí nghiệm

        Do trên bệ dễ dàng loại trừ đợc các yếu tố ngoại cảnh, hàm kích động là tờng minh, tốc độ thử là ổn định nên kết quả đo ít bị nhiễu. Đây là một quá trình đo động không ít chịu chi phối của các yếu tố ngoại cảnh nh gió, đờng không quy luật, lái xe cha đủ kỹ năng. Xử lý số liệu theo các phơng pháp toán học có thể lấy ra các thông số cần so sánh là góc lắc dọc và vận tốc, gia tốc góc lắc dọc.

        Phơng pháp đo dao động lắc ngang trên đờng

        - zT(t): chuyển vị thẳng đứng trớc, là khoảng cách từ cảm biến H7 đến mặt đờng. Trớc khi thí nghiệm ta phải khởi động phần mềm Dasylab để tạo ra sự liên kết các mô đun xử lý, bố trí nh sơ đồ trong hình 3. - Mô đun ADC input nhận các tín hiệu analog từ bộ kênh đo và truyền cho mô đun LOC.

        Quá trình đo

        Muốn kết quả thí nghiệm có tính chính xác thì qui trình thí nghiệm khi thực hiện phải có sự chuẩn bị và thao tác chính xác nhằm tránh đợc các sai số kể trên gây ra. - Về phơng pháp: Đo dịch chuyển trực tiếp với biên độ đo là lớn, tần số không cao mà thiết bị có thể đo chính xác do có độ nhạy cao. Để loại trừ yếu tố này, thí nghiệm đã thực hiện với mỗi loại đờng đo tại 3 giá trị vận tốc, mỗi vận tốc thực hiện 5 lần đo khác nhau.

        Kết quả thí nghiệm

          Nghiên cứu và mô phỏng hệ thống treo cho ô tô là một công việc hết sức cần thiết và hiệu quả với mục đích cải thiện độ êm dịu chuyển động, chất lợng kéo, tính dẫn hớng và ổn định chuyển động, độ bền, độ tin cậy..điều này không những cho phép chúng ta tiếp cận với những phơng pháp nghiên cứu hiện đại mà còn có thể mở rộng mô hình tính toán một cách thuận lợi hơn.  Đã nghiên cứu ảnh hởng của một số yếu tố phi tuyến đến dao động của ô tô nh: đặc tính phi tuyến của giảm chấn, độ cứng của lốp, sự tách bánh khi thay đổi độ cứng của lốp hoặc thay đổi biên độ mặt đ- ờng..Các kết quả này rất quan trọng và hữu ích trong các quá trình nghiên cứu về sau, khi tính toán lựa chọn kết cấu, thông số của các hệ thống trên ô tô nói chung và hệ thống treo nói riêng.  Phơng pháp luận xây dựng bài toán dao động, chơng trình tính và các thí nghiệm của luận văn có thể ứng dụng để đánh giá, khảo sát dao động cho các loại xe ô tô nói chung và xe hai cầu với hệ thống treo độc lập nói riêng, kết quả của luận văn có thể làm dữ liệu đầu vào cho bài toán kiểm nghiệm, thiết kế khung vỏ, cầu xe.

          Hình 4.7- Kết quả  thí nghiệm đo lắc dọc trên đờng đất ở tốc độ 50 km/h
          Hình 4.7- Kết quả thí nghiệm đo lắc dọc trên đờng đất ở tốc độ 50 km/h