Công nghệ ADSL2+ và khả năng ứng dụng trong truy nhập băng thông rộng

MỤC LỤC

Các công nghệ truy nhập

Công nghệ truy nhập vô tuyến

    Tuy nhiên, khi một số lượng lớn người dùng có thể chia sẻ cùng các kênh vô tuyến như nhau thì độ lưu thoát dữ liệu thường thấp hơn nhiều so với nhiều phương án băng rộng không dây khác với các độ lưu thoát dữ liêu thực tế nằm trong phạm vi từ 500 kbit/s tới 1 Mbit/s. Điều này sẽ hạn chế băng thông khả dụng và vì thế mà hạn chế tốc độ dữ liệu mỗi thuê bao, hoặc giới hạn tổng số thuê bao có thể có, làm cho MMDS trở thành một giải pháp băng rộng chỉ phù hợp với các dịch vụ tốc độ dữ liệu thấp hoặc cục bộ hóa.

    Công nghệ truy nhập hữu tuyến .1 ISDN và B-ISDN

      Các công ty khai thác điện thoại tính cước thuê bao rất cao cho các dịch vụ T1/E1 so với đường dây thuê bao tương tự để bù lại chi phí cho các thiết bị hỗ trợ đường dây vì tuy cùng là đường dây cáp xoắn đôi nhưng T1/E1 lại cần có những yêu cầu kĩ thuật đặc biệt. Công nghệ xDSL nói chung và công nghệ ADSL cùng các thế hệ tiếp theo nói riêng đã và đang nhận được sự hỗ trợ mạnh mẽ của các nhà sản xuất phần cứng ( Nortel, Networks, Cisco, ..), phần mềm (Microsoft, Compaq…) và các nhà cung cấp dịch vụ (American Online, Telecom Italy, Sprint …).

      Hình 1.6: Truy nhập bằng công nghệ ISDN.
      Hình 1.6: Truy nhập bằng công nghệ ISDN.

      CÁC KỸ THUẬT xDSL 2.1 Tìm hiểu về công nghệ xDSL

      • Các phiên bản của xDSL
        • Ưu điểm và nhược điểm của xDSL 1 Ưu điểm
          • Các dịch vụ và tình hình phát triển trên nền công nghệ DSL 1 Các dịch vụ cơ bản

            Khi nhu cầu truy nhập các dịch vu đối xứng tốc độ cao tăng lên, kỹ thuật HDSL2 thế hệ 2 ra đời để đáp ứng nhu cầu truyền T1, E1 chỉ trên một đôi dây đồng với một bộ thu phát nên có nhiều ưu điểm: hoạt động ở nhiều tốc độ khác nhau, sử dụng mã đường truyền hiệu quả hơn mã 2B1Q, khoảng cách truyền dẫn xa hơn, có khả năng tương thích phổ với các dịch vụ DSL khác. Làn sóng về nhu cầu băng rộng được thúc đẩy bởi tính phổ biến ngày càng tăng của các dịch vụ video theo yêu cầu, chơi game trực tuyến nhiều người, chia sẻ nội dung video và các dịch vụ mạng xã hội như YouTube và Facebook cũng như là sự tấn công bởi các nhà khai thác để tạo ra những dịch vụ gồm cả quadruple-play và triple tiên tiến.

            Bảng 2.4: Khả năng băng thông so với cự li của xDSL.
            Bảng 2.4: Khả năng băng thông so với cự li của xDSL.

            ADSL

            Các mô hình tham chiếu

              Có hai tham số cần thiết lập cấu hình một cách chính xác trên modem ADSL để đảm bảo kết nối thành công tại mức ATM với DSLAM là:VPI (Virtual Path Identifier) và VCI (Virtual Channel Identifier). Như vậy, nếu các kênh logic đến mang thông tin dữ liệu yêu cầu thời gian thực như các tín hiệu video, các tín hiệu tương tác… thì ATU-C sẽ điều khiển kênh dữ liệu này đi theo đường dữ liệu nhanh (fast data) của ADSL.

              Hình 3.7 : Mô hình tham chiếu hệ thống ADSL
              Hình 3.7 : Mô hình tham chiếu hệ thống ADSL

              Kỹ Thuật ghép kênh

                Một trong số các chức năng của phần mào đầu là đồng bộ các kênh tải để thiết bị ADSL ở hai đầu đường truyền có thể nhận biết cấu trúc các kênh (AS và LS), tốc độ của các kênh, vị trí của các bit trong khung. Các chức năng khác của phần mào đầu bao gồm: Kênh nghiệp vụ chung (EOC), kênh điều khiển nghiệp vụ (OCC) để tái cấu hình, thích ứng tốc độ từ xa và phát hiện lỗi qua việc kiểm tra CRC (kiểm tra phần dư chu kỳ), một số bit sử dụng cho khai thác, quản lý, và bảo dưỡng (OMC), số khác dùng để sửa lỗi trước (FEC).

                Bảng 3.2: Các kênh hỗ trợ cho luồng 2,048 Mbps.
                Bảng 3.2: Các kênh hỗ trợ cho luồng 2,048 Mbps.

                Kỹ thuật truyền dẫn trong ADSL Khái niệm ADSL có hai phần cơ bản

                  Cài xen chống lại lỗi xuất hiện đột ngột bằng cách thay đổi các khối dữ liệu, vì thế mà sự xuất hiện đột ngột lỗi kéo dài dẫn đến có một số ít lỗi trong một khối dữ liệu (có thể sửa được) thay vì một lượng lỗi lớn xảy ra trong một khối (không thể sửa được). Với độ sâu cài xem 20ms sẽ chống lại nhiễu đột biến có khoảng thời gian là 500μs, nhưng mức cài xen này gây ra trễ truyền bổ sung mà có thể làm chậm lại băng thông của các gói tin phúc đáp trước khi dữ liệu tiếp theo được truyền.

                  Hình 3.13: Kỹ thuật truyền dẫn ghép kênh theo tần số.
                  Hình 3.13: Kỹ thuật truyền dẫn ghép kênh theo tần số.

                  Các phương pháp điều chế trong ADSL

                  • So sánh DMT và CAP/QAM

                    - Không có sóng mang nên năng lượng suy giảm nhanh trên đường truyền, và cũng do không có sóng mang mà tín hiệu thu chỉ biết biên độ mà không biết pha do đó đầu thu phải có bộ thực hiện chức năng quay nhằm xác định chính xác điểm tín hiệu. Khi thực hiện điều chế 1 bit mỗi tín hiệu thì hệ thống có thể hỗ trợ được tốc độ truyền dữ liệu 3 Mbps, với 2 bit cho mỗi tín hiệu thì hệ thống có thể hỗ trợ được tốc độ truyền dữ liệu 6 Mbps… Nếu cần tốc độ truyền dữ liệu 10 Mbps thì phải sử dụng điều chế 4 bit trên mỗi tín hiệu để đạt tốc độ 12 Mbps.

                    Hình 3.15: Ví dụ về hệ thống QAM truyền 4 bit trên 1 kí hiệu.
                    Hình 3.15: Ví dụ về hệ thống QAM truyền 4 bit trên 1 kí hiệu.

                    Cấu trúc khung và siêu khung

                      Mã sửa sai FEC thêm thành phần phụ vào luồng dữ liệu truyền đi sao cho khi có một phần của tín hiệu bị phá hủy vì nhiễu xung thì những phần còn lại của tín hiệu ũng chứa đủ thông tin để có thể phục hồi lại phần thông tin bị mất. Sau khi áp dụng mã sửa sai FEC, bộ ghép xen kẽ sắp xếp lại thứ tự của các byte sao cho khi có tác động của nhiễu xung lên dòng dữ liệu nó sẽ phá hủy một số byte mà lúc giải ghép xen kẽ thì các byte sai sẽ được trải rời rạc ra.

                      Nhiễu trong ADSL

                        Tuy nhiên, sự cân bằng sẽ giảm đi khi tần số tăng lên, và ở tần số của DSL nói chung, từ 560kHz tới 30MHz, hệ thống DSL có thể chồng lên băng tần sóng vô tuyến và sẽ thu nhận đựợc mức nào đó của nhiễu vô. Các điện áp như vậy dường như là nhỏ, nhưng sự suy giảm lớn ở tần số cao trên đôi dây xoắn có nghĩa là ở thiết bị thu xung có thể là rất lớn so với mức tín hiệu DSL nhận được.

                        Hình 3.26: Minh họa nhiễu xuyên âm.
                        Hình 3.26: Minh họa nhiễu xuyên âm.

                        Băng thông ADSL

                        Đối với một đường truyền tốc độ cao, rất nhiều ứng dụng được dùng, ví dụ như xem video trực tuyến, mua bán, chơi game, truy cập Internet, truy cập mạng LAN từ xa v.v nên cần tốc độ đường xuống (tới người sử dụng) phải cao. Bằng cách sử dụng công nghệ DMT ADSL (Discrete Multitone – Đa tần rờì rạc) ta có thể sử dụng nhiều tốc độ bit khác nhau, tốc độ bit chỉ còn phụ thuộc vào mạch giao diện.

                        Sửa lỗi trong ADSL

                        Lý do để giải thích cho sự không cân đối một cách tự nhiên của quá trình truyền là do nhu cầu thực tế của người sử dụng. Ngược lại, yêu cầu về băng thông đường lên lại hoàn toàn thấp hơn nhiều và do đó, có sự bất đối xứng giữa đường lên và đường xuống về mặt băng thông.

                        Ưu điểm và nhược điểm của ADSL .1 Ưu điểm của ADSL

                          - Sự phụ thuộc vào khoảng cách từ nhà thuê bao đến tổng đài nội hạt ADSL (DSLAM), khoảng cách càng dài thì tốc độ đạt được càng thấp. - Trong thời gian đầu cung cấp dịch vụ, nhà cung cấp dịch vụ sẽ không thể đầu tư các DSLAM tại các tổng đài điện thoại vệ tinh (chi phí rất lớn).

                          Hướng phát triển và ứng dụng của ADSL

                          Do đó, trong thời gian đầu, dịch vụ sẽ chỉ được triển khai tại các thành phố lớn, các khu tập trung nhiều khách hàng tiềm năng. - Cung cấp radio và audio: người sử dụng có thể nghe âm thanh số được cung cấp theo thời gian thực từ máy chủ của nhà cung cấp dịch vụ.

                          ADSL2 VÀ ADSL2+

                          ADSL2

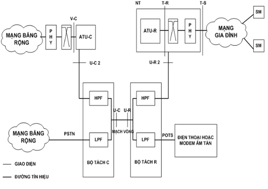
                          • Các mô hình tham chiếu .1 Mô hình chức năng ATU

                            Các chức năng cơ bản của lớp truyền thông vật lý PMD bao gồm tạo và khôi phục định thời ký hiệu, mã hóa và giải mã, điều chế và giải điều chế, triệt tiếng vọng (nếu được sử dụng), cân bằng đường dây, khởi tạo tuyến, ghép và tách tiêu đề lớp vật lý (tạo siêu khung). - Chế độ công suất L3: chế độ này cho phép tiết kiệm điện năng ở cả hai khối ATU-C và ATU-R bằng cách rơi vào chế độ sleep khi không sử dụng kết nối trong một khoảng thời gian nhất định, tương tự như chức năng Standby của Windows.

                            Hình 4.1: Mô hình chức năng ATU.
                            Hình 4.1: Mô hình chức năng ATU.

                            ADSL2+

                            • Các tính năng mới của ADSL2+
                              • Một số tính năng khác
                                • Tình hình sử dụng thiết bị ADSL2/ADSL2+ trên thế giới và Việt Nam Với các ưu điểm về tính năng hơn hẳn thiết bị ADSL thế hệ thứ nhất, thiết bị

                                  Theo đề nghị của Vụ Khoa học - Công nghệ, năm 2007 Bộ Bưu chính, Viễn thông (nay là Bộ Thông tin và Truyền thông) đã giao Viện Khoa học Kỹ thuật Bưu điện (Học viện Công nghệ Bưu chính Viễn thông) thực hiện đề tài nghiên cứu khoa học cấp Bộ “Xây dựng bộ tiêu chuẩn kỹ thuật và phương pháp đo đánh giá chất lượng thiết bị ADSL2/ADSL2+ dùng cho mạng nội hạt". Với mục tiêu xây dựng bản quy chuẩn để đo kiểm hợp chuẩn các thiết bị ADSL2/ADSL2+ và để đảm bảo tính tương thích phổ tần số giữa các thiết bị ADSL2 và ADSL2+ với nhau và với ADSL theo khuyến nghị G.992.1, nhóm thực hiện đề tài đã phải loại bỏ và hiệu chỉnh một số các nội dung mang tính thông tin giải thích, chỉ lựa chọn các chỉ tiêu thích hợp đưa vào tiêu chuẩn.

                                  Hình 4.10: Băng thông đường xuống và băng thông đường lên.
                                  Hình 4.10: Băng thông đường xuống và băng thông đường lên.

                                  KHẢ NĂNG ỨNG DỤNG CỦA ADSL2+

                                  • Một số ứng dụng điển hình .1 Truy nhập Internet tốc độ cao
                                    • ADSL2+ đưa Internet đến gần với người dân hơn

                                      Để giảm thiểu những ảnh hưởng này, biện pháp hữu hiệu là sử dụng kết hợp công nghệ ADSL2+ với các công nghệ DSL khác để cung cấp dịch vụ cho khách hàng, bằng cách chỉ sử dụng một phần băng tần của ADSL2+ từ 1.1 đến 2,2MHz để cung cấp dịch vụ ADSL cho các thuê bao có nhu cầu tốc độ không cao (tương đương với tốc độ của ADSL), trong khi vẫn cung cấp dịch vụ VDSL, SHDSL có băng tần từ 0 đến 1,1MHz cho thuê bao (đôi dây) khác trong cùng một cáp. Ngoài ra, khi sử dụng công nghệ ADSL2+, cũng sẽ cho phép giảm thiểu can nhiễu đối với các đường dây khác trong cùng một cáp, bởi vì công nghệ ADSL2+ cho phép giảm thiểu công suất phát nhờ quản lý chế độ công suất hợp lý với ba chế độ công suất: chế độ công suất phát lớn nhất L0 (khi lưu lượng truy nhập đạt cực đại), chế độ công suất L2 (khi lưu lượng truy nhập giảm xuống), chế độ công suất “ngủ” hay không phát công suất trên đường dây L3 (khi không có lưu lượng truy nhập).