Giới thiệu kỹ thuật đa truy nhập phân chia theo mã CDMA

MỤC LỤC

Giới thiệu chung

Tuy nhiên, do mỗi user truyền và nhận tín hiệu trên kênh riêng của mình nên những users trong cùng một tế bào (cell) không gây nhiễu cho nhau ( trường hợp lý tưởng). + Mỗi user chỉ được cấp cho một khoảng tần số nhất định nên tốc độ bit tối đa trên một kênh là cố định và do đó, hệ thống FDMA không thích hợp với truyền dẫn số. Vì vậy, các user khác nhau có thể truyền và nhận tin tức, từng người từng người một, trên cùng một khoảng băng tần nhưng tại những thời điểm khác nhau.

Tuy nhiên, trong cùng một thời điểm cũng có thể có một user ở tế bào bên cạnh truyền và nhận tín hiệu cho nên trong cách truy nhập này cũng xuất hiện nhiễu đồng kênh CCI. Mỗi user được gán cho một chuỗi mã xác định thuộc tập mã trực giao, và do đó tất cả các user có thể sử dụng chung khoảng băng tần trong cùng một khoảng thời gian như trong hình 1.7.

Hình 1.7. Kỹ thuật phân kênh theo mã (CDMA)
Hình 1.7. Kỹ thuật phân kênh theo mã (CDMA)

KỸ THUẬT ĐA TRUY NHẬP PHÂN CHIA THEO MÃ (CDMA)

  • KỸ THUẬT TRẢI PHỔ .1 Giới thiệu chung
    • ĐIỀU KHIỂN CÔNG SUẤT
      • CHUYỂN GIAO (HANDOFF)

        Kỹ thuật trải phổ bằng cách phân tán phổ trực tiếp Kỹ thuật trải phổ bằng phương pháp nhảy tần số Kỹ thuật trải phổ bằng phương pháp nhảy thời gian. Vì tốc độ bit fc của chuỗi giả ngẫu nhiên lớn hơn nhiều so với tốc độ bit fb của chuỗi tín hiệu truyền đi, nên tín hiệu d(t) sẽ bị chia nhỏ với tần số rất cao. Nếu so sánh (1) với biểu thức của BPSK: vBPSK(t)= 2PSd(t)⋅cosw0t , ta nhận thấy: với cùng công suất phát PS, chuỗi số d(t).g(t) có tốc độ chip fc chiếm dải phổ tần rộng hơn rất nhiều so với tín hiệu vBPSK có tốc độ bit fb, vì vậy, mật độ phổ công suất của tín hiệu trải phổ trải phổ vDS-SS thấp hơn nhiều so với mật độ phổ công suất của tín hiệu không trải phổ vBPSK.

        Nếu fc đủ lớn, mật độ phổ này sẽ rất thấp và xen lẫn với mức nhiễu nền khiến cho các máy thu thông thường rất khó khăn trong việc tách và lấy ra tín hiệu tin tức. Kỹ thuật FH – SS phát triển dựa trên điều chế BFSK, trong đó, tần số sóng mang được thay đổi liên tục theo một quy luật giả ngẫu nhiên (dựa trên chuỗi mã ngẫu nhiên sử dụng), nhờ vậy mà phổ của tín hiệu FH – SS được trải rộng trên trục tần số. Tìm hiểu Hệ thống TTDĐ dùng kỹ thuật MC-CDMA Trang 20 Trong hệ thống trải phổ nhảy tần số, cứ sau một khoảng thời gian TH, tần số sóng mang nhảy đến một tần số khác.

        Tìm hiểu Hệ thống TTDĐ dùng kỹ thuật MC-CDMA Trang 21 Tín hiệu FH – SS được tạo bởi mạch tổng hợp tần số điều khiển bởi N+1 bit, trong đó bao gồm N bits của từ mã giả ngẫu nhiên và 1 bit số d(t) của tín hiệu thông tin cần truyền. Khi user B ở xa trạm gốc hơn so với user A, công suất từ B đến trạm gốc sẽ bị suy hao nhiều hơn và do đó, công suất của tín hiệu mong muốn là B sẽ nhỏ hơn công suất nhiễu (công suất của A). Tuy nhiên điều này là không thể xảy ra do ảnh hưởng của môi trường, các tín hiệu bị phản xạ, nhiễu xạ … làm cho các tín hiệu được truyền từ trạm gốc không còn là trực giao và chúng gây nhiễu cho nhau.

        Chuyển giao mềm đảm bảo tại bất kỳ thời điểm nào, máy di động cũng được liên kết thực với trạm gốc phát tín hiệu mà máy di động thu được mạnh nhất. Do hệ thống CDMA có thể sử dụng đồng thời cùng một tần số trong các cells cạnh nhau nên nó có thể kết nối một máy di động với nhiều cells tại cùng một thời điểm. Hệ thống DS – CDMA dựa trên kỹ thuật trải phổ bằng cách phân tán phổ trực tiếp (DS – SS) và các lý thuyết cơ bản về kỹ thuật CDMA đã được trình bày ở những phần trước (Nguyên lý, máy thu Rake, điều khiển công suất và chuyển giao).

        Do đó, với W–CDMA, thế hệ thông tin di động thứ 3 có thể cung cấp cho người dùng các ứng dụng truyền thông hữu ích như điện thoại truyền hình, định vị và tìm kiếm thông tin, truy cập Internet, truyền tải dữ liệu dung lượng lớn, nghe nhạc và xem video chất lượng cao. Tìm hiểu Hệ thống TTDĐ dùng kỹ thuật MC-CDMA Trang 30 W–CDMA tạo ra các sóng mang băng rộng bằng cách sử dụng các chuỗi mã có tốc độ chip cao hơn, nhờ vậy mà băng thông kênh truyền rộng hơn và công nghệ W–CDMA có thể cung cấp được các dịch vụ tốc độ cao.

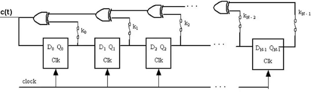
        Hình 2.1.Sơ đồ mạch tạo chuỗi giả ngẫu nhiên
        Hình 2.1.Sơ đồ mạch tạo chuỗi giả ngẫu nhiên

        MC – CDMA

        OFDM (Orthogonal Frequency Division Multiplexing) .1 Giới thiệu

          Bản chất trực giao của các sóng mang phụ OFDM cho phép phổ của các chuỗi con sau điều chế chồng lấn lên nhau mà vẫn đảm bảo việc tách riêng biệt từng thành phần tại phía thu. Mặt khác, do chuỗi dữ liệu nối tiếp tốc độ cao được chia thành các chuỗi con có tốc độ thấp nên tốc độ ký hiệu của các chuỗi con nhỏ hơn rất nhiều so với tốc độ của chuỗi ban đầu, vì vậy các ảnh hưởng của nhiễu liên ký tự ISI, của hiệu ứng trễ trải đều được giảm bớt. Nhưng đối với hệ thống đa sóng mang, khi có nhiễu thì chỉ một phần trăm nhỏ của những sóng mang con bị ảnh hưởng (hình 3.3b), và vì vậy ta có thể khắc phục bằng các phương pháp mã hoá sửa sai.

          Chìa khóa của việc sử dụng hiệu quả dải băng tần trong hệ thống OFDM so với các hệ thống khác trước đó (FDM, TDM) chính là tính trực giao của các sóng mang phụ. Với tính chất này, phổ của các chuỗi con sau điều chế có thể chồng lấn lên nhau nhưng vẫn đảm bảo việc tách riêng biệt từng thành phần tại phía thu. Một tập các tín hiệu được gọi là trực giao từng đôi một khi hai tín hiệu bất kỳ trong tập đó thỏa điều kiện:. với * là ký hiệu của liên hợp phức, Ts là chu kỳ ký hiệu. Tìm hiểu Hệ thống TTDĐ dùng kỹ thuật MC-CDMA Trang 34. Tập N sóng mang phụ trong kỹ thuật OFDM có biểu thức:. Các sóng mang này có tần số cách đều nhau một khoảng. Ta xét hai sóng mang t). Các mẫu y(n) này được chèn thêm khoảng bảo vệ, cho qua bộ biến đổi D/A để trở thành tín hiệu liên tục y(t), được khuếch đại, đưa lên tần số cao rồi phát lên kênh truyền. Chiều dài của khoảng bảo vệ cần được hạn chế để đảm bảo hiệu suất sử dụng băng tần, nhưng nó vẫn phải dài hơn khoảng trễ trải của kênh truyền nhằm loại bỏ được nhiễu ISI.

          + Tỷ số công suất đỉnh trên công suất trung bình PAPR (Peak to Average Power Ratio) là lớn vì tín hiệu OFDM là tổng của N thành phần được điều chế bởi các tần số khác nhau. Ở phần trước, chúng ta đã tìm hiểu về hệ thống OFDM với tính bền vững đối với fading chọn lọc tần số, chống được nhiễu liên ký hiệu ISI, sử dụng hiệu quả băng thông nhưng lại bị ảnh hưởng nghiêm trọng bởi offset tần số. Tuy nhiên, DS – CDMA không có khả năng chống chọi lại Fading chọn lọc tần số, hơn nữa hệ thống này tỏ ra không hiệu quả khi tốc độ dữ liệu tăng đến hàng trăm Mbps do ảnh hưởng của ISI và sự khó khăn trong việc đồng bộ chuỗi mã hoá.

          Do kế thừa tất cả những ưu điểm của CDMA và OFDM nên các mô hình này đều có khả năng truyền tốc độ cao, có tính bền vững với fading chọn lọc tần số, sử dụng băng thông hiệu quả, có tính bảo mật cao và giảm độ phức tạp của hệ thống. Mỗi user được cấp cho một chuỗi mã xác định thuộc tập mã trực giao (DS – CDMA), sau đó dữ liệu của tất cả user được phát song song trên cùng một tập sóng mang phụ trực giao (OFDM), thay vì phát nối tiếp như trong hệ thống DS – CDMA. Ở máy thu (hình 3.11), tín hiệu thu được nhân với các sóng mang phụ trực giao, giải điều chế số rồi được kết hợp thành một luồng dữ liệu nối tiếp.

          Tìm hiểu Hệ thống TTDĐ dùng kỹ thuật MC-CDMA Trang 43 3.2.3 Máy phát và máy thu MC – CDMA theo mô hình 1: sự kết hợp giữa trải phổ trong miền tần số và điều chế đa sóng mang. Tìm hiểu Hệ thống TTDĐ dùng kỹ thuật MC-CDMA Trang 44 Tuy nhiên, không nhất thiết phải chọn GMC = NC, và trên thực tế, khi tốc độ truyền của luồng dữ liệu gốc đủ cao để trở thành đối tượng của fading chọn lọc tần số thì luồng dữ liệu này cần được chuyển từ nối tiếp sang song song trước khi được trải phổ trong miền tần số bởi vì điều thiết yếu cần đạt được trong truyền dẫn đa sóng mang là fading phẳng trên mỗi sóng mang.

          Hình 3.5 Sơ đồ nguyên lý tạo một ký hiệu OFDM
          Hình 3.5 Sơ đồ nguyên lý tạo một ký hiệu OFDM