Thuyết minh máy khuấy trộn trong quy trình sản xuất tinh bột cao lanh

MỤC LỤC

GIỚI THIỆU QUI TRÌNH QUI TRÌNH CÔNG NGHỆ SẢN XUẤT TINH BỘT CAO LANH

Nguyên lý chung sử dụng lực của dòng nước chảy để loại bỏ tạp chất, trong đó phương pháp đánh tơi và chà xát và phân cấp xyclon thủy lực kết hợp với tuyển từ ướt là những bước cơ bản. Đầu tiên quặng cao lanh được chà xát thủ công rồi qua băng tải cấp liệu 1 đổ vào phiễu cấp liệu đĩa, với tốc độ quay từ 20 - 30 v/p, dưới tác dụng của lực văng ly tâm vật liệu đựợc chuyển qua băng tải cấp liệu 2, từ đây dòng cao lanh tiếp tục được đưa vào đánh tơi, từ đó qua lưới của sàn quay, các hạt vật chất có đường kính > 3 mm bị thải ra ngoài.

CƠ SỞ LÝ THUYẾT KHUẤY TRỘN CAO LANH 1. Lý thuyết khuấy trộn

Khái niệm chung về khuấy trộn

Công đoạn tiếp theo là loại bỏ nước ra khỏi khối liệu lắng ở bể chứa bằng hệ thống bơm bùn bơm hút khối liệu bằng áp lực cao đến máy ép khung bản nhằm ép nước ra khỏi cao lanh. Cao lanh được ép thành từng bánh có độ ẩm từ 22-27%, tùy theo yêu cầu sử dụng các bánh cao lanh thành phẩm tiếp tục giữ nguyên độ ẩm hay được sấy khô.

Chỉ tiêu đánh giá quá trình khuấy

Nhưng chỉ tiêu thể hiện đúng đắn nhất cho cường độ khuấy trộn chính là mức độ khuấy trộn trong đơn vị thời gian ddIτ hayτI. Tuy nhiên để tính hiệu quả khuấy trộn, cần thiết phải biết phương trình xác định công suất chi phí cho khuấy trộn, cho cấp nhiệt và cho chuyển khối ở trong các loại thiết bị khuấy trộn.

LỰA CHỌN PHƯƠNG ÁN THIẾT KẾ

  • ĐẶC ĐIỂM MỘT SỐ PHƯƠNG ÁN MÁY KHUẤY
    • PHÂN TÍCH CHỌN PHƯƠNG ÁN THIẾT KẾ

      Trong đa số trường hợp, người ta dùng chân vịt 3 cánh quạt để khuấy trộn chất lỏng trong thùng chứa có thể tích đến 200m3.Đối với những thùng chứa nhỏ thể tích đến một trăm m3 dùng chân vịt 2 cánh quạt, song trong trường hợp đó hệ số nhớt động lực cho phép lớn nhất của chất lỏng không vượt quá 0,5-0,7 N.s/m2. Trong ba phương án trên, theo máy chuẩn, do yêu cầu của máy thiết kế cùng với yêu cầu thực tế, máy được đặt trên cao thùng để khuấy trộn, do đó cần phải đảm bảo độ cứng vững, dễ bôi trơn hộp giảm tốc, so sánh ba phương án ta chọn phương án 3 là hợp lý, vì phương án 3 có đầy đủ các ưu điểm của hai phương án trước và chỉ có nhược điểm là hộp giảm tốc khó chế tao.

      Hình 2.1: Các loại cánh khuấy
      Hình 2.1: Các loại cánh khuấy

      THIẾT KẾ MỘT SỐ CƠ CẤU CHÍNH CỦA MÁY

      TÍNH TOÁN CÔNG SUẤT ĐỘNG CƠ

        CH – Hệ số tính đến tiêu hao năng lượng do ma sát giữa chất lỏng và cơ cấu khuấy và giữa chất lỏng với nhau. KN – là chuẩn số công suất hoặc còn gọi là hệ số công suất, giá trị của nó phụ thuộc vào các yếu tố hình học, yếu tố công nghệ của máy khuấy và phụ thuộc vào bản chất vật lý của môi trường được khuấy (chọn KN = 3.10-3).

        Ứng suất tiếp xúc cho phép ([1]-3.1-38)

        • THIẾT KẾ BỘ TRUYỀN ĐAI Cể TỶ SỐ TRUYỀN i = 2
          • THIẾT KẾ HỘP GIẢM TỐC TỶ SỐ TRUYỀN i = 1 0
            • THIẾT KẾ CỤM TRỤC TRUYỀN ĐỘNG THẲNG ĐỨNG

              Động cơ làm bánh răng a quay, bánh răng a ăn khớp ngoài với bánh răng hành tinh b làm bánh răng b quay, bánh răng b ăn khớp với bánh răng c cố định nên khi bánh răng b quay sẽ làm cần H quay, cần H nối với trục ra và làm trục ra quay. Do bánh vệ tinh b cùng ăn khớp với bánh răng cố định a và bánh răng cố định ăn khớp trong c nên khoảng cách trục giữa bánh răng hành tinh b với bánh răng c bằng khoảng cách trục giữa bánh răng ăn khớp ngoài a với bánh răng b. Theo tính toán trong hộp giảm tốc không có lực dọc trục, vì vậy ta dùng loại ổ lăn đỡ 1 dãy, để cố định các ổ lăn theo phương dọc trục ta dùng các nắp ổ và để điều chỉnh khe hở của ổ ta dùng các tấm thép mỏng giữa nắp ổ và thân hộp của nắp.

              Lực tác dụng lên trục khuấy bao gồm mômen xoắn Mx do trở lực của môi trường (mômen xoắn tác dụng từ bộ truyền bánh răng côn truyền động tới để cân bằng với mômen sinh ra do trở lực của môi trường), lực hướng kính Pr2, lực dọc trục Pa2,lực pháp tuyến Pt2. Vỏ máy có nhiều hình dạng cấu tạo khác nhau, đảm bảo vị trí tương đối cần thiết giửa các chi tiết và bộ phận máy, chịu tải trọng do các bộ phận máy truyền đến, đảm bảo bôi trơn và bảo vệ các chi tiết máy khỏi bụi bặm. Bằng cách ngâm các bộ truyền và các chi tiết máy trong dầu chứa ở hộp (vận tốc vòng của bánh răng nhỏ hơn 12m/s), khi vận tốc lớn, công suất mất mát dầu tăng lên và dễ bị biến chất do bắn toé và các chất cặn trong dầu bị khuấy động và hắt vào chỗ ăn khớp.

              Mức ngâm dầu thấp nhất phải đủ bôi trơn các bộ truyền trong hộp giảm tốc, mức dầu cao nhất được chọn sao cho tổn thất công suất khuấy dầu nằm trong giới hạn cho phép, nhiệt độ làm việc của dầu không vượt quá giá trị cho phép.

              Hình 3.2. Sơ đồ tác dụng lực của bộ truyền bánh răng côn
              Hình 3.2. Sơ đồ tác dụng lực của bộ truyền bánh răng côn

              CHẾ TẠO, LẮP RẮP, CHẠY THỬ VÀ VẬN HÀNH CÁC THIẾT BỊ

                Phần lớn các thiết bị có cơ cấu khuấy ở nước ta được chế tạo tại các nhà máy, các xưởng cơ khí thuộc các ngành hóa chất, công nghiệp thực phẩm, công nghiệp nhẹ,….Nhưng vì khối lượng chế tạo còn chưa nhiều, đến nay chúng ta vẩn chưa xuất bản được các catalog và các tiêu chuẩn về các thiết bị có cơ cấu khuấy. Mặt khác do điều kiện chế tạo đơn chiếc nên cũng cần việc chế tạo toàn bộ máy khuấy tại các nhà máy cơ khí có đủ năng lực chế tạo và thử nghiệm loại thiết bị tương ứng, nhất là các thiết bị chịu áp lực, làm việc trong môi trường độc hại hoặc nguy hiểm.Thiết bị cần được chế tạo, lắp ráp hoàn chỉnh và chạy thử tại nhà máy chế tạo trước khi đưa tới nơi sử dụng. Tập hợp trọn bộ các tài liệu về kết cấu và vận hành bao gồm lý lịch máy, các bản vẽ lắp có các bản liệt kê, các bản vẽ các chi tiết thay thế và mau mòn, chóng hỏng cũng như các tài liệu khác do nhà máy chế tạo cung cấp, cho phép người sử dụng biên soạn quy trình thao tác để vận hành và sữa chữa các thiết bị có cơ cấu khuấy.

                Phần chuyển động của bộ phận truyền dẩn (nối trục, các bánh răng, các chi tiết của truyền động đai thang) cần phải che kín bằng các tấm chắn tháo được. Động cơ điện phải được nối đất. Khi vận hành các bộ phận truyền dẩn đặt trên cao cần suer dụng thang liên động và phía dưới chân cần có mấu hoặc đế cao su. Khi chui vào thiết bị để sữa chữa cần pgair tuân thủ các nguyên tắc sau:. a ) Trước khi bắt đầu công việc người công nhân phải được trưởng ca hướng dẩn và trình bày giải pháp tiến hành. b ) Trước khi công nhân chiu vào thiết bị thì thiết bị đã được rữa sạch bằng nước. Nếu trong thiết bị có các chất độc thì ngoài việc rữa sạch bằng nước phải thổi khí nén hoạc xong hơi nước. Nhiệt độ bên trong thiết bị không được cao quá 30oC.Trong thời gian công nhân ở trong thiết bị nên thông khí thường xuyên. c ) Tất cả các đường ống nối với thiết bị kể cả các đường ống thông gió cần phải đóng lại và tháo mối nối. d ) Khi có người làm việc trong thiết bị chỉ được phép sử dụng điện áp để chiếu sang là 12V. Trong các thiết bị dùng để gia công các chất đặc biệt dễ cháy, dễ nỗ chỉ cho phép sử dụng đèn chiếu sang chạy bằng ắc qui có khả năng phòng nổ. TRong trường hợp này phải thực hiện các công việc bên trong thiết bị bằng các dụng cụ không phát tia lửa. đ ) Động cơ điện của máy khuấy cần được ngắt khỏi mạch điện. e ) Việc chui vào và ra khỏi thiết bị ở chiều cao trên 2m phải dùng thang di dộng đặt vào cửa chui. g ) Công nhân chiu vào thiết bị phải có quần áo đặc biệt cùng với ủng và găng tay cao su. Khi làm việc trong một số thiết bị (nếu bản hướng dẩn vận hành qui định) phải mang mặt nạ phòng chống độc có ống mền. Phần cuối của ống phải nằm ngoài giới hạn phòng đặt máy. h ) Trên người công nhân chui vào thiết bị phải có thắt lưng phòng hỏa, trên đó có một sợi dây có đầu tự do buộc vào cột nhà hoặc điểm tựa gần nhất. Trong thời gian làm việc trong thiết bị người công nhân phải luôn luôn được một người ở ngoài theo dừi. Khi cụng nhõn cảm thấy mệt, người này phải giúp người công nhân ra ngay khỏi thiết bị. k ) Khi tiến hành các công việc với ngọn lửa mỏ (hàn, cắt,…) bên trong thiết bị cần phải có các giải pháp đặc biệt.

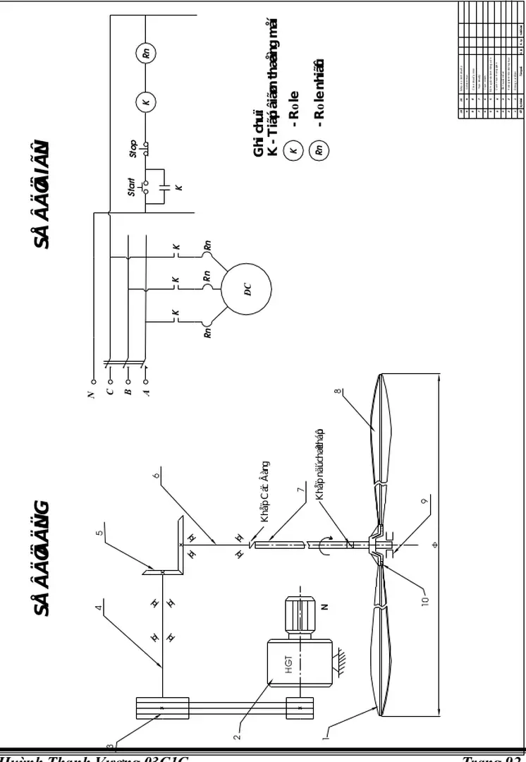
                SƠ ĐỒ ĐIỆN Rn ABC N 8 7 5 46
                SƠ ĐỒ ĐIỆN Rn ABC N 8 7 5 46